ПОЖАРОУСТОЙЧИВИ ВРАТИ NOVOPORTA PREMIO

Пожароустойчиви врати с висококачествен дебел фалц за всички изисквания

Пожароустойчивите врати от Novoferm - NovoPorta Premio, с висококачествен дебел фалц, се предлагат в класове на пожароустойчивост EI2 30, EI2 60 и EI2 90) за вътрешна и външна употреба.

Изискан дебел фалц
Многоцелевите стоманени врати NovoPorta Premio са разработени специално за европейския пазар. Вратите са идеални за всички изисквания в съвременното строителство на сгради, благодарение на атрактивния си външен вид с висококачествен дебел фалц и крило с дебелина 64 мм.

Висока функционалност
Стоманените врати NovoPorta Premio с висококачествен дебел фалц се предлагат като пожароустойчиви (до EI2 90), димозащитни, взломозащитни (до RC 4), звукоизолационни (до RW = 53 dB), многоцелеви и дори устойчиви на куршуми врати (FB 4, VPAM 6) - за унифициран външен вид на вратите в цялата сграда.

Множество предимства при монтажа
При тази серия врати можете да избирате от много бързи, лесни и чисти методи за монтаж и възможности за запълване на касата (винтов монтаж, запълване с пожарозащитна пяна, идеални решения за гипсокартон, каси с фабрична пожарозащита и т.н.).

Сравнение и характеристики на вратите

Сравнение на пожароустойчивите врати NovoPorta Premio
Вид врата 

Дебел фалц

T30 (EI2 30)

EI2 60

T90 (EI2 90)

RS

Звукоизлация

RC2

RC3

RC4

T30-1/EI2 30-1 Premio

 1-крили клапи

• 

 •

 

 

 

• 

 •

 •

 

T30-1/EI2 30-1
Premio

1-крили врати

• 

 •

 

 

• 

• 

 •

 •

 •

EI2 30-1 Premio GE-голям размер

1-крили врати

• 

 •

 

 

• 

• 

 •

 

 

T30-2/EI2 30-2 Premio

2-крили врати

• 

 •

 

 

• 

• 

• 

 •

 

EI2 30-2 Premio GE-голям размер

2-крили врати

• 

 •

 

 

• 

• 

• 

 

 

EI2 60-1 Premio

1-крили врати

 •

 

 •

 

 •

 

 •

 •

 •

EI2 60-1 Premio GE-голям размер

1-крили врати

 

 

 •

 

 •

• 

 

 

 

EI2 60-2 Premio

2-крили врати

 •

 

 •

 

 •

 •

 •

 •

 

EI2 60-2 Premio GE-голям размер

2-крили врати

 •

 

 •

 

 •

 •

 

 

 

T90-1/EI2 90-1 Premio

1-крили врати

 •

 

 

 •

 •

 •

 •

 •

 •

T90-1/EI2 90-1 Premio

1-крили врати

 •

 

 

 •

 •

 •

 •

 •

 

EI2 90-1 Premio GE-голям размер

1-крили врати

 •

 

 

 •

 •

 •

 

 

 

T90-2/EI2 90-2 Premio

2-крили врати

 •

 

 

 •

 •

 •

 •

 •

 

EI2 90-2 Premio GE-голям размер

2-крили врати

 •

 

 

 •

 •

 •

 

 

 

ДЕТАЙЛИ - NOVOPORTA PREMIO EI 30

ДЕТАЙЛИ - NOVOPORTA PREMIO EI 30

Обков:
3-съставни панти, стандартно оборудвани със сачмени лагери. По две панти на крило (> височина 2500 мм (> светъл проходен размер 2458 мм) три панти), стандартно грундирани в бяло, подобно на RAL 9016, по желание налични от неръждаема стомана, с регулируеми 3D панти от стомана и неръждаема стомана или с тънки 3D панти от неръждаема стомана (необходим е горен автомат на вратата). При врати с 1 крило, до поръчков размер 1250 x 2150 мм (светъл проходен размер 1166 x 2208 мм) една панта и една пружинна панта. При 2-крили врати: две панти на крило. Всички височини > 2500 мм (светъл проходен размер > 2458 мм) стандартно с три панти на крило. 
Два осигурителни щифта на крило. Брава с черен комплект обли дръжки (монтирана на бравата). Патрон за монтаж на място за вътрешни врати (дължина 85 мм, 35/50 мм). За външни врати - под формата на глух патрон, включен в обхвата на доставката. 1-крила врата, стандартно оборудвана с вътрешна армировка за горен автомат от страната на пантите. Размер > 1250 x 2250 mm (размер на светлия проход >1166 x 2208 mm), както и за всички височини на вратите над 2500 mm (размер на светлия проход > 2458 mm) в стандартна версия с горен автомат за врати Geze TS 4000 F или dormakaba TS 89 F, който се предлага на същата цена и с автомат за врати с плъзгаща се шина Novoferm NFGS 55, по заявка).

Допълнителни характеристики на двукрилите врати:
Двa горни автомата за врата Geze TS 4000 F или dormakaba TS 80 F и един координатор на вратата. Изравнен централен фалц с уплътнение на централния фалц. Активно крило с прибиращ се болт за заключване на фалца нагоре (по избор се предлага нагоре и надолу).

Каси:
Стандартна ъглова каса с тристранен уплътнителен профил от EPDM без удължение за вкопаване в пода, дебелина на касата 2.0 mm, широчина на лицевата страна 50 mm, опция: обхватна каса на вратата, двукомпонентен обхватен профил на касата 2140B, насрещна и блок каса за свързване към стената или блок каса за монтаж пред стената.

Прагове:
Стандартно A в една равнина с пода, по избор B1, B2, B3, BE-2 с четиристранна обграждаща каса или C2 с долен ограничител и уплътнение или уплътнителни прагове RS1 със спускащо се подово уплътнение (предлага се и като RS1V със забавено спускане), двоен праг RS1 или праг с акустично уплътнение RS2.

Повърхности:
Крилото и касата на вратата са поцинковани и грундирани (прахово боядисани) в RAL 9016. По избор, крилото и касата се предлагат и с прахово покритие в цвят по RAL цвят по ваш избор.

    

NOVOPORTA PREMIO EI2 30-1

Хоризонтален разред, 1-крила врата

Хоризонтален разрез, 2-крила врата

DIN ляво / DIN дясно

    

NOVOPORTA PREMIO EI2 30

Вертикален разрез

Вертикален разрез 
с горен панел

ОПЦИИ:

  • Горен панел/фикс
  • Пожароустойчиво остъкление (винаги с горен автомат)
  • Димозащита съгласно EN 1634-3 с долно уплътнение на пода (RS 1/RS1V) или гърбичен праг с акустично прагово уплътнение (RS 2) и горен автомат за самозатваряне
  • Звукоизолация (без моделите с горен панел)
    • изпитани по EN ISO 140-30, оценено съгласно EN ISO 717-1 (лабораторни стойности за цялостно крило и праг RS 1/RS1V)
    • за 1-крили врати с поръчков размер до 1375 x 2500 mm (размер на светлия проход 1291 x 2458 mm) 40 dB RwP
    • за 1-крили извънгабаритни врати с размер до 1500 x 3000 mm (размер на светлия проход 1416 x 2958 mm) 39 dB RwP
    • за 2-крили врати с поръчков размер до 2500 х 2500 мм (размер на светлия проход 2416 х 2458 мм) 39 dB Rwp
    • за 2-крили врати с поръчков размер до 3000 х 3000 мм (размер на светлия проход 2916 х 2958 мм) 37 dB Rwp
  • Устойчиви на взлом RC 2 и RC 3 - изпитани двустранно, съгласно EN 1627 до поръчков размер 2500 x 2500 mm (размер на свободния проход 2416 x 2458 mm), поръчков размер до 3000 x 3000 mm (размер на свободния проход 2916 x 2958 mm) RC 2 при изпитването.
  • Устойчивост на взлом RC 4* - тествана от двете страни, в съответствие с EN 1627 - само като еднокрила конструкция с пълно крило до размер 1375 x 2500 mm (размер на свободния проход 1291 x 2458 mm)
       
     

АКЦЕНТИ

  • Еднокрили и двукрили пожароустойчиви стоманени врати за вътрешна или външна употреба
  • Пожароустойчивост, тествана съгласно EN 1634-1 и одобрена от компетентните строителни органи в съответствие с DIN 4102 или с Европейската техническа оценка ETО-17/0443
  • Пожароустойчиво уплътнение от 3 страни и на централния фалц на активното крило
  • Крилото и касата на вратата са поцинковани и грундирани (прахово боядисани) в RAL 9016
  • Крило на вратата с тристранен дебел фалц, дебелина 64 mm, дебелина на листа 1,0 mm - по избор до размер 1375 x 2500 mm (размер на светлия проход 1291 x 2458 mm) или 2500 x 2500 mm (размер на светлия проход 2416 x 2458 mm), също с дебелина 1,5 mm
ДЕТАЙЛИ - NOVOPORTA PREMIO EI2 60

ДЕТАЙЛИ - NOVOPORTA PREMIO EI2 60

Обков:
3-съставни панти, стандартно оборудвани със сачмени лагери. По 2 панти на крило в стандартен бял грунд, подобен на RAL 9016, като опция се предлагат от неръждаема стомана, като регулируеми 3D панти от стомана или неръждаема стомана, или като персонализирани тънки 3D панти от неръждаема стомана (за персонализираните панти винаги е необходим горен автомат за врата). За врати с 1 крило до размер 1000 x 2125 мм (светъл проходен размер 916 x 2083 мм) една панта и една пружинна панта. При 2-крили врати - по две панти на крило. Два осигурителни шипа на крило, брава за патрон с черен комплект обли дръжки (монтирани на бравата). Патрон за монтаж на място за вътрешни врати (дължина 85 мм, 35/50 мм). За външни врати - под формата на глух патрон, включен в обхвата на доставката.
1-крилите врати са стандартно оборудвани с вътрешна армировка за автомат от страната на пантите. Размер > 1000 x 2125 mm (светъл проходен размер > 916 x 2083 mm) в стандартна версия с горен автомат Geze TS 4000 F или dormakaba TS 80 F при поискване се предлага на същата цена и с горен автомат с плъзгаща се шина Novoferm NFGS 55)

Допълнителни характеристики на двукрилите врати:
Два горни автомата Geze TS 4000 F или dormakaba TS 80 F и един координатор на вратата. Заравнен централен фалц с уплътнение на централния фалц. Пасивно крило с прибиращ се болт за заключване на фалца нагоре и надолу.

Каси:
Стандартно: Ъглова каса с тристранен уплътнителен профил CR без удължение за вкопаване в пода, дебелина на касата 2,0 мм, широчина на лицевата страна 50 мм, опция: обхватна каса, 2140B двусъставен обхватен профил, насрещна каса и блок каса за захващане към стената.

Праг:
Стандартно ниво А, по избор B1, B2, B3, BE-2 с непрекъсната рамка или CR с долен фалц, или уплътнителни прагове RS1 с падащо подово уплътнение
(също като RS1V със забавено уплътнение на пода) или двоен праг RS1.

Повърхности:
Крилото и касата на вратата са поцинковани и грундирани (прахово боядисани) по RAL 9016. По желание крилото и касата на вратата се предлагат и с прахово покритие в цвят по RAL по ваш избор.

    

NOVOPORTA PREMIO EI2 60-1

Хоризонтален разрез, 1-крила врата

Хоризонтален разрез, 2-крила врата

Вертикален разрез

DIN ляво / DIN дясно

ОПЦИИ:

  • Пожароустойчиво остъкление (винаги с горен автомат)
  • Димозащита съгласно EN 1634-3 с падащо подово уплътнение (RS1/RS1V)
  • Звукоизолация - изпитана съгласно EN ISO 140-3, оценена съгласно EN ISO 717-1 (лабораторни стойности за цяло крило и RS1/ RS1V)
  • за 1-крили врати с поръчков размер до 1375 x 2500 mm (размер на свободния проход 1291 x 2458 mm) 35 dB RwP
  • за 2-крили врати с поръчков размер до 2500 x 2500 mm (размер на свободния проход 2416 x 2458 mm) 35 dB RwP
  • Устойчивост на взлом RC 2 - изпитана от двете страни съгласно EN 1627 - до координатен размер 2500 x 2500 mm (размер на свободния проход 2416 x 2458 mm)
  • Устойчивост на взлом RC 3 - изпитана от двете страни съгласно EN 1627 - до координатен размер 2500 x 2500 mm (размер на свободния проход 2416 x 2458 mm)
  • Устойчивост на взлом RC 4 - изпитана от двете страни съгласно EN 1627 - само като еднокрила пълнокрила конструкция до поръчков размер 1375 x 2500 mm (размер на свободния проход 1291 x 2458 mm)
      
     

АКЦЕНТИ

  • Еднокрили и двукрили пожароустойчиви стоманени врати за вътрешна или външна употреба
  • Висока пожароустойчивост, тествана по DIN EN 1634-1 и одобрена от строителните власти съгласно Европейска 
    техническа оценка ETО-17/0443
  • Крило на вратата с 60 mm дебел фалц от трите страни, дебелина на листа 1,0 mm
  • Огнеупорни уплътнения от трите страни и на централния фалц на активното крило
  • Крилото и касата на вратата са поцинковани и грундирани (прахово боядисани) по RAL 9016
ДЕТАЙЛИ - NOVOPORTA PREMIO EI2 90

ДЕТАЙЛИ - NOVOPORTA PREMIO EI2 90

Обков:
3-съставни панти, стандартно оборудвани със сачмени лагери. По две панти на крило: стандартно грундирани в бяло, подобно на RAL 9016, като опция се предлагат от неръждаема стомана, като регулируеми 3D панти от стомана или неръждаема стомана, или като тънки 3D панти от неръждаема стомана. Два осигурителни шипа на крило до поръчкова височина 2125 мм (размери на светлия проход 2083 мм), три осигурителни шипа при височини от 2126 мм (размери на светлия проход 2084 мм). В стандартна версия с автомат Geze TS 4000F или dormakaba TS 89 F, която се предлага на същата цена и с автомат с направляваща шина Novoferm NFGS 55) Вградена брава с изтеглящ се език, с черен комплект заоблени дръжки (монтиран е патрон с врътка). Патрон за монтаж на място за интериорните врати (дължина 85 мм, 35/50 мм). За външни врати под формата на глух патрон, включен в обхвата на доставката.

Допълнителни характеристики на двукрилите врати:
Втори автомат за врата Geze TS 4000 F или dormakaba TS 89 F и един координатор на вратата. Заравнен централен фалц с уплътнение на централния фалц. Пасивно крило с прибиращ се болт за заключване във фалца нагоре и надолу.

Каси:
Стандартна ъглова каса с тристранен уплътнителен профил, дебелина на касата 2,0 мм, широчина на лицевата страна 50 мм, опция: обхватна каса, 2140 двусъставен обхватен профил на касата, насрещна и блок каса за захващане към стена.

Праг:
Стандартно ниво на пода A, по избор B 1, B 2, B 3, BE-2 с 4-странна непрекъсната рамка, или C 2 с долен фалц, или RS 1 уплътнителни прагове с падащо подово уплътнение, (също като RS1V със забавено падащо подово уплътнение), или RS 1 двоен праг.

Повърхности:
Крилото и касата на вратата са поцинковани и грундирани (прахово боядисани) в RAL 9016. По избор,крилото и касата се предлагат и с прахово покритие в цвят по RAL цвят по ваш избор.

    

NOVOPORTA PREMIO EI2 90-1

Хоризонтален разрез, 1-крила врата

Хоризонтален разрез, 2-крила врата

Вертикален разрез

DIN ляво / DIN дясно

ОПЦИИ:

  • Пожароустойчиво остъкление
  • Димозащита съгласно EN 1634-3 с падащо подово уплътнение (RS1/RS1V)
  • Звукоизолация - тествана съгласно EN ISO 140-3, оценена съгласно EN ISO 717-1 (лабораторни стойности за цяло крило и RS1/ RS1V)
    • за 1- и 2-крили врати всяка 39 dB RwP
  • Устойчивост на взлом RC 2 - тествана от двете страни съгласно EN 1627 - цяло крило до поръчков размер 2500 x 2500 mm (размер на свободния проход 2416 x 2458 mm)
  • Устойчивост на взлом RC 2 - тествана от двете страни съгласно EN 1627 - цяло крило до поръчков размер 2500 x 2500 mm (размер на свободния проход 2416 x 2458 mm)
       
     

АКЦЕНТИ

  • Еднокрили и двукрили пожароустойчиви стоманени врати за вътрешна или външна употреба
  • Пожароустойчивост, тествана съгласно EN 1634-1 и одобрена от строителните власти в съответствие с DIN 4102 или с Европейската техническа оценка ETО-17/0443
  • Пожароустойчиви уплътнения от трите страни и върху централния фалц на активното крило
  • Крило на вратата с фалц с дебелина 64 мм от трите страни, дебелина на ламарината 1,0 мм (по избор 1,5 мм)
  • Крилото и касата на вратата са поцинковани и грундирани (прахово боядисани) в RAL 9016

Многоцелеви стоманени врати - акценти

Това видео представя акцентите и възможностите на многоцелевите стоманени врати Novoferm накратко.

Други видеа можете да намерите в YouTube канала на Novoferm:

https://www.youtube.com/NovofermVideos

ОБОРУДВАНЕ

ПОВЪРХНОСТИ И ДИЗАЙН

ПОВЪРХНОСТИ И ДИЗАЙН

PREMIO ДОБАВЯ ЦВЯТ В СГРАДАТА
Вратите създават привлекателен вход. Затова Novoferm се стреми да създаде впечатление за високо качество, още с белия прахообразен грунд. В допълнение, широкият избор от цветове по RAL ви позволява да акцентирате върху сградата и да придадете на интериора й неповторим облик. Дизайните могат да бъдат различни за вътрешната и външната страна или за всяко крило на вратата.

Дори пантите могат да бъдат боядисани в цвета на дизайна на вратата, като опция.

Изключителен външен вид, съчетан с усъвършенствана технология Novoferm, която със сигурност ще създаде цялостен хармоничен образ, който ще впечатли всеки посетител. Вратите могат да изглеждат почти вградени в стените, което предлага огромни възможности за дизайн.

Разнообразието, предлагано от Novoferm, обхваща външния вид на касата на вратата и пантите, които могат да бъдат оформени с идентичен или различен дизайн.

По този начин се създава перфектно взаимодействие между външен вид и сигурност, което е впечатляващо във всяко отношение.

Висококачественият грунд Novoferm в бял цвят (RAL 9016) изглежда много привлекателно още при доставката.

Много собственици на имоти изглежда го харесват толкова много, че решават да се придържат към бялото, ако няма риск от корозия на
мястото, където се монтира вратата.

Светлоустойчив и изключително устойчив на надраскване, благодарение на матовото или гланцовото безцветно лаково покритие, Premio може да се изпълни по различни атрактивни начини.

От индустриален чар до уютна атмосфера: 
Външната и вътрешната страна, отделните крила на вратите и дори пантите могат да бъдат персонализирани с индивидуален дизайн.

Правилното решение за всяка ситуация:

Предлагаме широка гама от атрактивни дизайни с матово (M) или гланцово (H) безцветно лаково покритие.

ОСТЪКЛЕНИЕ

ОСТЪКЛЕНИЕ

Изборът на остъкление играе огромна роля за външния вид на вратата, но все по-често е продиктуван от нарастващите изисквания за енергийна ефективност.
Понастоящем ние сме единственият производител, който предлага нашите модели врати MZ Premio и Plano изцяло с изолиращо стъкло със значително подобрен коефициент на топлопреминаване Ug 1,1 - 1,3 W/(m²K), в зависимост от избрания вид стъкло, съгласно EN ISO 10077-1.

В зависимост от версията можете да изберете следните варианти на остъкляване за NovoPorta Premio MZ (вж. таблицата).
Стандартното и персонализираното изолирано остъкление с изключително нисък коефициент на топлопреминаване, в съответствие с EN ISO 10077-1. Разбира се, предлага се и ламинирано или закалено безопасно стъкло

Предлагат се и орнаментни стъкла (флоатно стъкло), които се отличават с три различни дизайна::
Mastercarré, Masterligne и непрозрачно стъкло (вж. илюстрациите отдолу за индивидуални дизайни.
Те разпръскват светлината в различна степен, като по този начин увеличават усещането за уединение.
   

Видове стъкла
NovoPorta Plano и Premio MZ

MZ-1
еднокрила

MZ-2
двукрила

С 24 mm ISO-стъкло, прозрачно флоатно стъкло (стандартно стъкло)*

С 24 mm VSG / VSG ISO-стъкло (стандартно стъкло)

С 24 mm VSG / VSG ISO-стъкло с матиращо фолио (стандартно стъкло)

С 24 mm ISO-стъкло, флоатно орнаментно стъкло бяло / Mastercarré*

С 24 mm ISO-стъкло, 24 mm флоатно орнаментно стъкло бяло / Masterligne*

С 24 mm ESG / ESG ISO-стъкло 

Други специални опции за остъкление (само изолиращо стъкло) са налични по запитване,
дебелина на стъклото: 24 mm

Стъкла за остъкляване на място 24 мм ISO

  

При остъкляването стандартно от страната на пантата се закрепва защитния стъклодържач ( при поискване е възможно и от противоположната страна на пантата).
*Спазвайте указанията за работното място и правилата за предотвратяване на злополуки
  

ВАРИАНТИ НА ОРНАМЕНТНО СТЪКЛО

Mastercarré

Masterligne

Матиращо фолио (непрозрачно стъкло)

СТЪКЛОДЪРЖАЧИ И ПОКРИВАЩИ ЛЕНТИ

СТЪКЛОДЪРЖАЧИ И ПОКРИВАЩИ ЛЕНТИ

СТОМАНЕН ПРОФИЛ ЗА ВИДИМ ВИНТОВ МОНТАЖ
Широчината на здравите стоманени стъклодържачи на NovoPorta Premio е винаги една и съща независимо дали моделът е EI230, EI260, EI290 или MZ. Това гарантира, че външният вид на остъклението на вратата също остава еднакъв в цялата сграда.

Материал: 
Стомана

ЕЛЕГАНТНИ ПОКРИВАЩИ ЛЕНТИ ОТ НЕРЪЖДАЕМА СТОМАНА
Който иска да създаде още по-елегантен външен вид, може да избере нашите покриващи ленти от неръждаема стомана. Те просто се закрепват върху стандартните стъклодържачи и допълнително подобряват модела с остъкление Premio.

Материал: 
Неръждаема стомана, предлага се за квадратно и кръгло остъкление

СТЪКЛОДЪРЖАЧИ

   

NovoPorta Premio EI2 30-1 и EI2 30-2 1) 2)

   

Налични видове стъкла:
Стъкло F30 прозрачно за вътрешна и външна употреба

Стъклодържачи от стомана
За правоъгълно и кръгло стандартно и специално остъкление

Стъклодържачи с допълнителни покривни профили от неръждаема стомана
За правоъгълно и кръгло стандартно и специално остъкление

NovoPorta Premio EI2 60-1 И EI2 60-2 1) 2)
    

Стъклодържачи от стомана
За правоъгълно и кръгло стандартно и специално остъкление

Стъклодържачи от стомана
За правоъгълно и кръгло стандартно и специално остъкление

Стъклодържачи с допълнителни покривни профили от неръждаема стомана
За правоъгълно и кръгло стандартно и специално остъкление

NovoPorta Premio EI2 90-1 И EI2 90-2 1) 2)
    

Налични видове стъкла:
Стъкло F90 прозрачно за вътрешна и външна употреба

Стъклодържачи от стомана
За правоъгълно и кръгло стандартно и специално остъкление

Стъклодържачи с допълнителни покривни профили от неръждаема стомана
За правоъгълно и кръгло стандартно и специално остъкление

NovoPorta Premio MZ-1 И MZ-2 2) 
    

Стъклодържачи от стомана
За правоъгълно и кръгло стандартно и специално остъкление

Стъклодържачи с допълнителни покривни профили от неръждаема стомана
За правоъгълно и кръгло стандартно и специално остъкление

Налични видове стъкла::
Предлага се само с ISO стъкло

  
1) Посочените в списъка пожароустойчиви стъкла F30/F60/F90 са стандартно предназначени само за употреба на закрито, устойчиви са на UV лъчи в съответствие с DIN EN ISO 12543-4, раздел 6, и са подходящи за зони със слънчева радиация. За външна употреба се предлагат специални пожароустойчиви стъкла F30 и F90, устойчиви на UV лъчение, също само с монолитна структура на стъклото (не изолиращо стъкло!). По тази причина това остъкляване е подходящо само за области на монтаж, за които няма изисквания за топлоизолация. Освен това остъклението трябва да бъде защитено от пряко излагане на атмосферни влияния - особено от проливен дъжд.

2) Стандартно стоманените стъклодържачи са видимо закрепени с болтове от двете страни. Допълнителна защита от страната на опасността/отвън на вратите MZ.

АТРАКТИВНО ОБОРУДВАНЕ

АТРАКТИВНО ОБОРУДВАНЕ НА ИЗГОДНА ЦЕНА

ЧЕТИРИ ПАКЕТА ОБОРУДВАНЕ ЗА ЕДНОКРИЛИ ВРАТИ PREMO
Висококачествени врати с дебел фалц, специално конфигурирани и на изключително изгодни цени. От момента на пускането си на пазара NovoPorta Premio впечатлява с разнообразните си варианти. С новите пакети за оборудване за пожарозащита, димозащита или за многоцелеви врати сега са добавени четири специални варианта. Просто изберете комбинацията от брава, обков, панти и горен затварящ механизъм на вратата и се възползвайте от ценово предимство

Атрактивни пакети за оборудване за еднокрили врати Premio
Нашите пакети за оборудване Premio са прецизно разработени и се предлагат само в комбинация с поръчаната врата. И при четирите пакета за оборудване за съжаление не са възможни промени в съответните компоненти, дори и срещу допълнително заплащане. Единственото изключение: Заключването може да бъде надградено до антипаник брави в съответствие с DIN EN 179 (срещу допълнително заплащане).
Стандартно челна планка от неръждаема стомана и кръгли розети
Ако избраната антипаник брава все още не е стандартно оборудвана с челна планка от неръждаема стомана, ще я получите без допълнително заплащане.

ОСНОВЕН ПАКЕТ

Лостова брава
BMH 1000 PZW с лицева плоча от неръждаема стомана
Комплект кръгли лостови дръжки / сменяем комплект ²)
ECO OGL технология с плъзгащи лагери тип D-110 FSU форма черна - гланцова - с кръгли розетки
Стандартни трисъставни панти поцинковани (не 3D)
Стандартен автомат с ножично рамо
ECO TS 50 или GEZE TS 4000 или DORMA TS 89, сребрист цвят ¹)

АЛУМИНИЕВ ПАКЕТ

Лостова брава
BMH 1000 PZW с лицева плоча от неръждаема стомана
Комплект кръгли лостови дръжки / сменяем комплект ²)
ECO OGL-технология с плъзгащи лагери тип D-110 FSU-форма елоксиран алуминий F1 – с кръгли розетки
Стандарни трисъставни панти поцинковани (не 3D)
Стандартен автомат с водеща шина
Novoferm NFGS 55, сребрист цвят ¹)

ПАКЕТ НЕРЪЖДАЕМА СТОМАНА

Лостова брава
BMH 1000 PZW с лицева плоча от неръждаема стомана
Комплект кръгли лостови дръжки /сменяем комплект ²)
ECO OGL-технология с плъзгащи лагери тип D-110 FSU-форма. Неръждаема стомана – с кръгли розетки
Трисъставни панти от неръждаема стомана полирани (не 3D)
Автомат с направляваща шина
ECO TS 61 B (EN 2-5), или GEZE TS 5000, или DORMA TS 93 Basic, сребрист цвят ¹)

ПАКЕТ НЕРЪЖДАЕМА СТОМАНА PLUS

Лостова брава
BMH 1000 PZW с лицева плоча от неръждаема стомана
Комплект кръгли лостови дръжки / сменяем комплект ²)
ECO OKL-технология с плъзгащи лагери тип D-110 FSU-форма. Неръждаема стомана – с кръгли розетки
Трисъставни панти от неръждаема стомана полирани
(3D-регулируеми - тънък дизайн)
Автомат с направляваща шина
ECO TS 61 B (EN 2-5) Fullcover, неръждаема стомана ¹)

¹) Всички автомати за врати са само за стандартен монтаж от страната на пантата
²) Взаимозаменяем комплект, всеки с права плоска глава

   

ОСНОВЕН ПАКЕТ

Лостова брава
BMH 1000 PZW с лицева плоча от неръждаема стомана
Комплект кръгли лостови дръжки / сменяем комплект ²) 
ECO OGL-технология с плъзгащи лагери тип D-110 FSU-форма черно – лак – с кръгли розетки
Стандартни трисъставни панти поцинковани (не 3D)
Стандартен автомат с ножично рамо
ECO TS 50 или GEZE TS 4000 или DORMA TS 89, сребрист цвят ¹)

ПАКЕТ АЛУМИНИЙ

Лостова брава
BMH 1000 PZW с лицева плоча от неръждаема стомана
Комплект кръгли лостови дръжки / сменяем комплект ²)
ECO OGL-технология с плъзгащи лагери тип D-110 FSU-форма. Елоксиран алуминий F1  – с кръгли розетки
Стандартни трисъставни панти поцинковани (не 3D)
Стандартен автомат с направляваща шина
Novoferm NFGS 55, сребрист цвят ¹)

ПАКЕТ НЕРЪЖДАЕМА СТОМАНА

Лостова брава
BMH 1000 PZW с лицева плоча от неръждаема стомана
Комплект кръгли лостови дръжки / сменяем комплект ²)
ECO OGL-технология с плъзгащи лагери тип D-110 FSU-форма. Неръждаема стомана – с кръгли розетки
Трисъставни панти от неръждаема стомана полирани (не 3D)
Автомат с направляваща шина
ECO TS 61 B (EN 2-5), или GEZE TS 5000, или DORMA TS 93 Basic, сребрист цвят ¹)

ПАКЕТ НЕРЪЖДАЕМА СТОМАНА ПЛЮС

Лостова брава
BMH 1000 PZW с лицева плоча от неръждаема стомана
Комплект кръгли лостови дръжки / сменяем комплект ²)
ECO OKL-технология със съчемени лагери тип D-110 FSU-форма. Неръждаема стомана – с кръгли розетки
Трисъставни панти от неръждаема стомана полирани. (3D-регулируеми – тънък дизайн)
Автомат с направляваща шина
ECO TS 61 B (EN 2-5) Fullcover, неръждаема стомана ¹)

¹) Всички автомати за врати са само за стандартен монтаж от страната на пантата
²) Взаимозаменяем комплект, всеки с права плоска глава
 

Технически данни и детайли

Преглед на размерите. Размери за поръчка и монтаж

Преглед на размерите Размери за поръчка и монтаж



 

 

Поръчкови размери

Стандартни размери

 

Номинални размери

 

Размер на светъл проход

Каса - външни размери
с вграждане в пода
20 mm
без вграждане в пода
Ширина x Височина mmШирина x Височина mmШирина x Височина mmШирина x Височина mmШирина x Височина mm
Premio T30/EI2 30-1 стенна клапа
Premio T90/EI2 90-1 стенна клапа
750 x 750
750 x 875
760 x 760
760 x 885
666 x 666
666 x 791
828 x 828
828 x 953

800 x 800810 x 810716 x 716878 x 878
875 x 875
875 x 1.000
875 x 1.250
885 x 885
885 x 1.010
885 x 1.260
791 x 791
791 x 916
791 x 1.166
953 x 953
953 x 1.078
953 x 1.328


1.000 x 1.000
1.000 x 1.250
1.010 x 1.010
1.010 x 1.260
916 x 916
916 x 1.166
1.078 x 1.078
1.078 x 1.328


Допустим диапазон на размерите: от 500 x 715 mm до 1 000 x 1 750 mm (BRM = референтен размер на конструкцията)
   
Premio T30/EI2 30-1
Premio EI2 60-1
Premio T90/EI2 90-1
Premio MZ-1
Premio E-S-1
Premio S-D-1
Premio DB-1 Typ 50
750 x 2.000
750 x 2.125
760 x 2.005
760 x 2.130
666 x 1.958
666 x 2.083
828 x 2.059
828 x 2.184
828 x 2.039
828 x 2.164
875 x 1.875
875 x 2.000
875 x 2.125
885 x 1.880
885 x 2.005
885 x 2.130
791 x 1.833
791 x 1.958
791 x 2.083
953 x 1.934
953 x 2.059
953 x 2.184
953 x 1.914
953 x 2.039
953 x 2.164
1.000 x 2.000
1.000 x 2.125
1.010 x 2.005
1.010 x 2.130
916 x 1.958
916 x 2.083
1.078 x 2.059
1.078 x 2.184
1.078 x 2.039
1.078 x 2.164
1.125 x 2.000
1.125 x 2.125
1.135 x 2.005
1.135 x 2.130
1.041 x 1.958
1.041 x 2.083
1.203 x 2.059
1.203 x 2.184
1.203 x 2.039
1.203 x 2.164
1.250 x 2.000
1.250 x 2.125
1.250 x 2.250
1.260 x 2.005
1.260 x 2.130
1.260 x 2.255
1.166 x 1.958
1.166 x 2.083
1.166 x 2.208
1.328 x 2.059
1.328 x 2.184
1.328 x 2.309
1.328 x 2.039
1.328 x 2.164
1.328 x 2.289
Диапазон на допустимите/доставяните размери: 500 x 715 mm (EI2 60-1 от 563 x 1 594 mm) до 1 500 x 3 000 mm  (BRM =  строителен размер)
Premio T30/EI2 30-2
Premio EI2 60-2
Premio T90/EI2 90-2
Premio MZ-2
Premio E-S-2
Premio S-D-2
1.500 x 2.000**
1.500 x 2.125**
1.510 x 2.005
1.510 x 2.130
1.416 x 1.958
1.416 x 2.083
1.578 x 2.059
1.578 x 2.184
1.578 x 2.039
1.578 x 2.164
1.750 x 2.000***
1.750 x 2.125***
1.760 x 2.005
1.760 x 2.130
1.666 x 1.958
1.666 x 2.083
1.828 x 2.059
1.828 x 2.184
1.828 x 2.039
1.828 x 2.164
2.000 x 2.000
2.000 x 2.125
2.000 x 2.500
2.010 x 2.005
2.010 x 2.130
2.010 x 2.505
1.916 x 1.958
1.916 x 2.083
1.916 x 2.458
2.078 x 2.059
2.078 x 2.184
2.078 x 2.559
2.078 x 2.039
2.078 x 2.164
2.078 x 2.539
2.125 x 2.1252.135 x 2.1302.041 x 2.0832.203 x 2.1842.203 x 2.164
2.250 x 2.2502.260 x 2.2552.166 x 2.2082.328 x 2.3092.328 x 2.289
2.500 x 2.5002.510 x 2.5052.416 x 2.4582.578 x 2.5592.578 x 2.539
Диапазон на допустимите/доставяните размери:
1.170 (1.375) x 1.750 mm до 3.000 x 3.000 mm (BRM = строителен размер)
ТЕХНИЧЕСКИ ДАННИ NOVOPORTA PREMIO Т30 / EI 30

NOVOPORTA PREMIO EI2 30-1 ЕДНОКРИЛИ И ГОЛЯМИ РАЗМЕРИ G3)

Клас на устойчивост / тип

Обозначение

NovoPorta  
Premio EI2 30-1

1-крила

NovoPorta  
Premio EI2 30-1

1-крила /  
голям размер GE3)

Одобрени размери  
Поръчков размер (BRM)                                       Ширина min. - max.  
(размер на светъл проход (LD))

500 – 1.375  
(416– 1.291)

1.376– 1.500  
(1.292-1.416)

                                                                                                                                                                                                                                                                              Височина min. - max.

715 – 2.500   
(673– 2.458)

2.501– 3.000   
(2.459–2.958)

с горен панел                                                            Височина max.

3.500

-

с врата                                                                        Височина max.

2.500

-

Димозащита с горен панел                                      BRM max.

3.500

-

 

 

 

Крила

 

 

Дебелина на крилото прибл.

64

64

Дебелина на листа прибл.

1,0

(опция 1,5)

1,0

(1,5 в процес на изпитване)

Отваряемост

ляво или дясно

ляво или дясно

 

 

 

Стени

 

 

Зидария

> 115

> 175

Бетон

≥ 100

≥ 140

Блокове газобетон/ плоскости

≥ 150 

≥ 175

Подсилени стенни плоскости от газобетон

≥ 150

≥ 175

Стени от F30-A/EI30 (GE дизайн от F60-A/EI60), изработени от пожароустойчиви гипсокартонени
плоскости със стоманени опори (съгласно DIN 4102, част 4, таблица 10.2 или EN 13501-2)

≥ 100

≥ 100

Стени от F30-B/EI30 от пожароустойчив гипсокартон с дървени подпори (съгласно DIN 4102,
част 4, таблица 10.3 или EN 13501-2)

≥ 130

-

Други одобрени монтажни стени минимум F30-A/EI30 (тип GE от F60-A/EI60) или F30-B/EI30 (не
за тип GE) съгласно сертификат за изпитване на общия строителен надзор, са налични при
поискване

Облицовани стоманени подпори/греди, мин. F60-A/ F60-A, или облицовани дървени подпори/
греди, мин. F60-B/R60

-

 

 

 

Версии

 

 

Топлоизолация, цяло крило, всички модели прагове (Ud стойност
за единица врата W/(m2K)

1,5

1,6

Пожароустойчивост - изпитана по EN 1634-1

Предлага се с огнеустойчиво уплътнение1)

Опция за димоуплътнение по EN 1634-3

Предлага се със звукоизолация (с падащ подов праг, без остъкление, лабораторни стойности
по EN ISO 717-1)

прибл. 40 dB RwP

прибл. 39 dB RwP

Устойчивост на взлом според EN 1627 (цяло крило, изпитано от двете страни)

RC 2

RC 3

RC 4

RC 2 в процес на изпитване

 

 

 

F30-остъкление

 

 

Правоъгълно стандартно остъкляване с видимо закрепени с болтове стъклодържачи, стандартно поцинковани и грундирани с прахово покритие (RAL 9016), по желание с допълнителни покриващи профили (без видимо закрепване) от неръждаема стомана. Минимални ширини на фриза (стойностите в скобите се отнасят за типа GE) отгоре и от страната на пантата ≥ 150 (200) mm, от страната на бравата >180 (220) mm. Височина на цокъла ≥ 150 (600) mm.

Кръгло стандартно остъкляване
Стъклодържачи и минимални ширини на фриза/ширини на фриза, както при правоъгълното
стандартно остъкляване.

Персонализирано остъкляване по избор
От 170 x 270 mm до 849 x 2134 mm (при GE дизайн до 670 x 1770 mm). Дизайн и
стъклодържачи и минимални ширини на фриза / ширини на фриза като при правоъгълното
остъкляване, отговарящо на стандартите

 

 

 

Сертифициране (одобрение) като интериорна врата съгласно ETA 17/0443

EI2 30 / CE

EI2 30 / CE

Сертифициране (одобрение) като външна врата в съответствие с EN 16034 и EN 14351-1

EI2 30 / CE

EI2 30 / CE

• възможно   - не е възможно

 

 

¹) Стандартното стъкло е предназначено само за употреба на закрито (предпазва от ултравиолетова светлина и директно халогенно излъчване). Стъклото може да се използва само в температурен диапазон от -20 до +45°C. Чертежите важат само за врати с размери 1000 x 2000 mm / Всички размери на остъкляването се отнасят за светлата остъклена площ на всеки панел. Вариантите на остъкляване и максималните размери на стъклата за външна употреба се предлагат по запитване. 

 

2) Не е одобрен за версии с горни панели.

 

 

3) GE = увеличение на размера / голям размер  
Всички размери са в мм.     BRM = Поръчков размер    RAM = външен размер на каса      LD = размер на светлия проход  

Технически данни Novoporta Premio EI2 30-2

NOVOPORTA PREMIO EI2 30-2 ЕДНОКРИЛИ И ГОЛЯМИ РАЗМЕРИ G3)

Клас на устойчивост / тип

Обозначение

NovoPorta Premio EI2 30-2

двукрили

NovoPorta Premio EI2 30-2

двукрили / голями размери 3)

Одобрени размери

 

 

Поръчков размер (BRM)                                                                                                                                                                             Ширина min. - max.

(размер на светъл проход (LD))

 

1.170 – 2.500
(1.086–2.416)

1.376–3.000
(1.292–2.916)
                                                                                                                                                                                                                   Височина min. - max.

1.750 – 2.500
(1.708–2.458)

2.501 – 3.000
(2.459–2.958)

с горен панел                                                            Височина max.

3.500

-

с врата                                                                        Височина max.

2.500

-

Димозащита с горен панел                                      BRM max.

3.500

-

 

 

 

Крила

 

 

Дебелина на крилото прибл.

64

64

Дебелина на листа прибл.

1,0

(опция 1,5)

1,0

(1,5 в процес на изпитване)

Активно крило                                                      Ширина min. – max.600 - 1.228728 - 1.478
Пасивно крило                                                     Ширина min. – max.525 - 1.228728 - 1.478
Отваряемост

Активно крило

ляво или дясно

Активно крило

ляво или дясно

 

 

 

Стени

 

 

Зидария

> 115

> 175

Бетон

≥ 100

≥ 140

Блокове газобетон/ плоскости

≥ 150 

≥ 175

Подсилени стенни плоскости от газобетон

≥ 150

≥ 175

Стени от F30-A/EI30 (GE дизайн от F60-A/EI60), изработени от пожароустойчиви гипсокартонени плоскости със стоманени опори (съгласно DIN 4102, част 4, таблица 10.2 или EN 13501-2)

≥ 100

≥ 100

Стени от F30-B/EI30 от пожароустойчив гипсокартон с дървени подпори (съгласно DIN 4102, част 4, таблица 10.3 или EN 13501-2)

≥ 130

-

Други одобрени монтажни стени минимум F30-A/EI30 (тип GE от F60-A/EI60) или F30-B/EI30 (не
за тип GE) съгласно сертификат за изпитване на общия строителен надзор, са налични при
поискване

Облицовани стоманени подпори/греди, мин. F60-A/ F60-A, или облицовани дървени подпори/
греди, мин. F60-B/R60

-

 

 

 

Версии

 

 

Топлоизолация, цяло крило, всички модели прагове (Ud стойност за
единица врата W/(m2K)

1,5

1,6

Пожароустойчивост - изпитана по EN 1634-1

Предлага се с огнеустойчиво уплътнение 1)

Опция за димоуплътнение по EN 1634-3

Също така звукоизолация (с четиристранна рамка B 1, без стъкло, лабораторна стойност съгласно EN ISO 717-1)

прибл. 39 dB RwP

прибл. 37 dB RwP

Устойчивост на взлом според EN 1627 (цяло крило, изпитано от двете страни)

RC 2

RC 3
 

RC 2 в процес на изпитване

 

 

 

F30-остъкление

 

 

Правоъгълно стандартно остъкляване с видимо закрепени с болтове стъклодържачи, стандартно поцинковани и грундирани с прахово покритие (RAL 9016), по желание с допълнителни покриващи профили (без видимо закрепване) от неръждаема стомана. Минимални ширини на фриза (стойностите в скобите се отнасят за типа GE) отгоре и от страната на пантата ≥ 150 (200) mm, от страната на бравата >180 (220) mm. Височина на цокъла ≥ 150 (600) mm.

Кръгло стандартно остъкляване
Стъклодържачи и минимални ширини на фриза/ширини на фриза, както при правоъгълното стандартно остъкляване

Персонализирано остъкляване по избор
От 170 x 270 mm до 849 x 2134 mm (при GE дизайн до 670 x 1770 mm). Дизайн и стъклодържачи и минимални ширини на фриза / ширини на фриза като при правоъгълното остъкляване, отговарящо на стандартите

 

 

 

Сертифициране (одобрение) като интериорна врата съгласно ETA 17/0443

EI2 30 / CE

EI2 30 / CE

Сертифициране (одобрение) като външна врата в съответствие с EN 16034 и EN 14351-1

EI2 30 / CE

EI2 30 / CE

• възможно   - не е възможно

 

 

¹) Стандартното стъкло е предназначено само за употреба на закрито (предпазва от ултравиолетова светлина и директно халогенно излъчване). Стъклото може да се използва само в температурен диапазон от -20 до +45°C. Чертежите важат само за врати с размери 1000 x 2000 mm / Всички размери на остъкляването се отнасят за светлата остъклена площ на всеки панел. Вариантите на остъкляване и максималните размери на стъклата за външна употреба се предлагат по запитване. 

 

2) Не е одобрен за версии с горни панели

 

 

3) GE = увеличение на размера / голям размер  
Всички размери са в мм.     BRM = Поръчков размер    RAM = външен размер на каса                   LD = размер на светлия проход  
ТЕХНИЧЕСКИ ДАННИ NOVOPORTA PREMIO T60 / EI 60

Технически данни NovoPorta Premio EI 60-1/2

Клас на устойчивост / тип

Обозначение

NovoPorta Premio EI2 60-1

1-крила

NovoPorta Premio EI2 60-2

2-крила 

Одобрени размери

 

 

Поръчков размер (BRM)                                                                                                                                                                                                              Ширина min. - max.

(размер на светъл проход (LD))

 

563 – 1.375
(479 – 1.291)

1.250 – 2.500
(1.166 – 2.416)

                                                                                                                                                                                                                                                     Височина min. - max.

1.594 – 2.500
(1.552 – 2.458)

1.750 – 2.500
(1.708 – 2.458)

с горен панел                                                         Височина max.

-

-

с врата                                                                      Височина max.

-

-

Димозащита с горен панел                                   BRM max.

-

-

 

 

 

Крила

 

 

Дебелина на крилото прибл.

64

64

Дебелина на листа прибл.

1,0

1,0

Активно крило                                                      Ширина min. – max.

-

600 - 1.228

Пасивно крило                                                     Ширина min. – max.

-

525 - 1.228

Отваряемост

ляво или дясно

Активно крило

ляво или дясно

 

 

 

Стени

 

 

Зидария

> 115

> 175

Бетон

≥ 100

≥ 100

Блокове газобетон/ плоскости

≥ 150 

≥ 150

Подсилени стенни плоскости от газобетон

≥ 150

≥ 150

Стени от F30-A/EI30 (GE дизайн от F60-A/EI60), изработени от пожароустойчиви гипсокартонени
плоскости със стоманени опори (съгласно DIN 4102, част 4, таблица 10.2 или EN 13501-2)

≥ 100

≥ 100

Стени от F30-B/EI30 от пожароустойчив гипсокартон с дървени подпори (съгласно DIN 4102,
част 4, таблица 10.3 или EN 13501-2)

-

-

Други одобрени монтажни стени мин. F60-A/EI60, съгласно сертификат за изпитване на общия строителен надзор, са налични при поискване

Облицовани стоманени колони/стоманени греди или облицовани дървени колони/дървени греди

-

-

 

 

 

Версии

 

 

Топлоизолация, цяло крило, всички модели прагове (Ud стойност
за единица врата W/(m2K)

1,5

1,6

Пожароустойчивост - изпитана по EN 1634-1

Предлага се с огнеустойчиво уплътнение1)

Опция за димоуплътнение по EN 1634-3

Предлага се със звукоизолация (с падащ подов праг, без остъкление, лабораторни стойности
по EN ISO 717-1)

прибл. 35 dB RwP

прибл. 35 dB RwP

Устойчивост на взлом според EN 1627 (цяло крило, изпитано от двете страни)

RC 2

RC 3

RC 4
 

RC 2 

RC 3

 

 

 

F30-остъкление

 

 

Правоъгълно остъкляване, отговарящо на стандартните изисквания, с видимо закрепени с
болтове стъклодържачи, стандартно поцинковано и грундирано с прахово покритие (RAL 9016),
по избор с допълнителни покриващи профили (без видимо закрепване) от неръждаема
стомана. Ширина на фриза отгоре и от страната на пантата ≥ 200 mm, от страната на бравата и
на централния фалц на пасивното крило ≥ 200 mm, височина на цокъла ≥ 300 mm.

Кръгло стандартно остъкляване
Стъклодържачи и минимални ширини на фриза/ширини на
фриза, както при правоъгълното стандартно остъкляване.

Персонализирано остъкляване по избор
От 170 x 270 mm до 750 x 1930 mm. Дизайн и стъклодържачи и минимални ширини на
фриза / ширини на фриза като при правоъгълното остъкляване.

 

 

 

Сертифициране (одобрение) като интериорна врата съгласно ETA 17/0443

EI2 60 / CE

EI2 60 / CE

Сертифициране (одобрение) като външна врата в съответствие с EN 16034 и EN 14351-1

EI2 60 / CE

EI2 60 / CE

• възможно   - не е възможно

 

 

¹) Стандартното стъкло е предназначено само за употреба на закрито (предпазва от ултравиолетова светлина и директно халогенно излъчване). Стъклото може да се използва само в температурен диапазон от -20 до +45°C.
Чертежите важат само за врати с размери 1000 x 2000 mm / Всички размери на остъкл. ването се отнасят за светлата остъклена площ на всеки панел.

 

Всички размери са в мм       BRM = поръчков размер      RAM = външен размер на касата    LD = размер на светлия проход

 

 

ТЕХНИЧЕСКИ ДАННИ NOVOPORTA PREMIO T90 / EI 90

ТЕХНИЧЕСКИ ДАННИ NOVOPORTA PREMIO EI 90-1/2

Клас на устойчивост / тип

Обозначение

NovoPorta Premio EI2 90-1

1-крила

NovoPorta Premio EI2 90-2

2-крила

Одобрени размери

 

 

Поръчков размер (BRM)                                                                                                                                                                                                                                        Ширина min. - max.

(размер на светъл проход (LD))

 

500 - 1.375
(416 - 1.291)

1.170 - 2.500
(1.086 - 2.416)

                                                                                                                                                                                                                                                                              Височина min. - max.

715 - 2.500
(673 - 2.458)

1.750 - 2.500
(1.708 - 2.458)

с горен панел                                                            Височина max.

-

-

с врата                                                                        Височина max.

-

-

 Димозащита с горен панел                                BRM max.

-

-

 

 

 

Крила

 

 

Дебелина на крилото прибл.

64

64

Дебелина на листа прибл.

1,0

(опция 1,5)

1,0

(опция 1,5)

Активно крило                                                   Ширина min. – max.

-

600 - 1.228

Пасивно крило                                                  Ширина min. – max.

-

525 - 1.228

Отваряемост

ляво или дясно

Активно крило

ляво или дясно

 

 

 

Стени

 

 

Зидария

> 175

> 175

Бетон

≥ 140

≥ 140

Блокове газобетон/ плоскости

≥ 175

≥ 175

Подсилени стенни плоскости от газобетон

≥ 175

≥ 175

Стени от F30-A/EI30 (GE дизайн от F60-A/EI60), изработени от пожароустойчиви гипсокартонени
плоскости със стоманени опори (съгласно DIN 4102, част 4, таблица 10.2 или EN 13501-2)

≥ 100

≥ 100

Стени от F30-B/EI30 от пожароустойчив гипсокартон с дървени подпори (съгласно DIN 4102,
част 4, таблица 10.3 или EN 13501-2)

-

-

Други одобрени монтажни стени мин. F90-A/EI90, съгласно сертификат за изпитване на общия строителен надзор, са налични при поискване

Облицовани стоманени колони/стоманени греди мин. F90-A или с класификация мин. R90

 

 

 

Версии

 

 

Топлоизолация, цяло крило, всички модели прагове (Ud стойност
за единица врата W/(m2K)

1,7

1,8

Пожароустойчивост - изпитана по EN 1634-1

Предлага се с огнеустойчиво уплътнение1)

Опция за димоуплътнение по EN 1634-3

Предлага се със звукоизолация (с падащ подов праг, без остъкление, лабораторни стойности
по EN ISO 717-1)

прибл. 39 dB RwP

прибл. 39 dB RwP

Устойчивост на взлом според EN 1627 (цяло крило, изпитано от двете страни)

RC 2

RC 3
 

RC 2

RC 3

 

 

 

F30-остъкление

 

 

Правоъгълно остъкляване, отговарящо на стандартните изисквания, с видимо закрепени с
болтове стъклодържачи, стандартно поцинковано и грундирано с прахово покритие (RAL 9016),
по избор с допълнителни покриващи профили (без видимо закрепване) от неръждаема
стомана. Ширина на фриза отгоре и от страната на пантата ≥ 200 mm, от страната на бравата и
на централния фалц на пасивното крило ≥ 200 mm, височина на цокъла ≥ 300 mm.

Кръгло стандартно остъкляване
Стъклодържачи и минимални ширини на фриза/ширини на
фриза, както при правоъгълното стандартно остъкляване.

Персонализирано остъкляване по избор
От 170 x 270 mm до 750 x 1930 mm. Дизайн и стъклодържачи и минимални ширини на
фриза / ширини на фриза като при правоъгълното остъкляване.

 

 

 

Сертифициране (одобрение) като интериорна врата съгласно ETA 17/0443

EI2 90 / CE

EI2 90 / CE

Сертифициране (одобрение) като външна врата в съответствие с EN 16034 и EN 14351-1

EI2 90 / CE

EI2 90 / CE

• възможно  - не е възможно

 

 

¹) Стандартното стъкло е предназначено само за употреба на закрито (предпазва от ултравиолетова светлина и директно халогенно излъчване). Стъклото може да се използва само в температурен диапазон от -20 до +45°C.
Чертежите важат само за врати с размери 1000 x 2000 mm / Всички размери на остъкл. ването се отнасят за светлата остъклена площ на всеки панел.

 

Всички размери са в мм.    BRM = поръчков размер    RAM = външен размер на касата      LD = размер на светлия проход

 

 

КАСИ

КАСИ

 
ПРЕГЛЕД НА КАСИТЕ

Ъглова каса

Ъглова каса с допълващ профил

Ъглова каса с насрещна каса

Блок каса тип 1
Ъглов елемент
Монтаж в отвора

Блок каса тип 1.1
Ъглов елемент
Монтаж в отвора

Блокова каса тип 2 с декоративен профил
Монтаж в отвора 

Блок каса тип 3
Монтаж пред стената

Обхватна каса

Двусъставна обхватна каса, тип 2140B

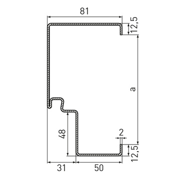
a = отвор в гърлото на касата

ПРАГОВЕ

ПРАГОВЕ


Праг, на нивото на пода

B1
Праг за врати с поръчкова височина 1750 мм 4-странна непрекъсната каса (крило на вратата и 4- странна непрекъсната каса)

B1
Праг за стенни клапи до поръчкова височина 1741 mm 4-странна непрекъсната каса (крило на врата и 4-странна непрекъсната каса)

B2
Праг за малки врати с поръчкова височина 1749 mm и врати с поръчкова височина 1750 mm с 4-странна непрекъсната каса (4-странна непрекъсната каса)

B3
Праг с 4-странна непрекъсната каса

BE-2
Праг с 4-странна непрекъсната каса

C 2
Праг с долен стопер и уплътнение

RS1 / RS1V
Падаща подово уплътнение

2 x RS1
двойно падащо подово уплътнение

RS2
уплътнителен праг/гърбав праг

Прагове за монтаж на по-голяма височина / повдигната позиция за монтаж

Прагове за монтаж на по-голяма височина / повдигната позиция за монтаж (БАЗА > 500 MM)

RS3 праг1)

B1 Праг за врати с 4-странна непрекъсната рамка (крило на вратата и каса с 4-странна непрекъсната рамка)

B2 Праг за врати с 4-странна непрекъсната рамка (каса с 4-странна непрекъсната рамка/ 3-странно крило на вратата)

B1 Праг за стенна клапа с 4-странна непрекъсната рамка (крило на вратата и каса с 4-странна непрекъсната рамка)

1) Други варианти на прага RS3 в комбинация с по-ниски панели Promat или със стоманени скоби, както и за повдигнати подове, се предлагат по заявка.
2) Предлагат се само за еднокрили Premio EI2 30 до макс. размери BRM 1375 x 2500 mm.

Монтаж

Лесен монтаж и бързо запълване на касата

АТРАКТИВНИ ВЪВ ВСЯКА СРЕДА, ТРАЕН МОНТАЖ В РАЗЛИЧНИ СТЕНИ!
Със стоманените врати от гамата NovoPorta Premio можете да избирате между множество методи за бърз, лесен и чист монтаж и възможности за запълване на касата.

КАСИ NOVOPORTA PREMIO С ФАБРИЧНА ПРОТИВОПОЖАРНА ЗАЩИТА

КАСИ NOVOPORTA PREMIO С ФАБРИЧНА ПРОТИВОПОЖАРНА ЗАЩИТА

ЕДНА КАСА – МНОЖЕСТВО ВЪЗМОЖНОСТИ

АКЦЕНТИ

  • По време на монтажа не се налага запълване на касата, поради което не се изисква време за поставяне или изсъхване
  • Подходящ за 1- и 2-крили врати Premio EI30 / EI2 30 с максимални размери BRM от 1375 x 2500 mm/ 2500 x 2500 mm
  • Без подготвителни работи за запълване на касата (напр. пренасяне на торби с разтвор, разбъркване с вода, без смесване, без мазане и др.)
  • Независим от температурата на околната среда на обекта
  • Идеален за врати и каси, които са покрити с цвят по RAL и се монтират на по-късен етап от строителството
  • Тестван по EN 1634 с европейска техническа оценка по ETA-17/0443
  • Изключително екологосъобразно, тъй като не е необходимо да се изхвърлят остатъчни материали Високо икономично и максимално безопасно: процентът на грешките при запълването на касата, което е важно от гледна точка на противопожарната защита, са равни на нула. Касата може да се монтира с обичайните крепежни материали и толеранси. Без специални изисквания по време на монтажа!

ВЕЧЕ СЕ ПРЕДЛАГА И С ФАБРИЧНА ПРОТИВОПОЖАРНА ЗАЩИТА

Само при Novoferm.
Монтирайте вратите без отнемащо време запълване на касата на място. Кой не би искал това?
Със системата EasyFit от Novoferm това вече е много лесно. За тази цел стандартната ъглова каса се подготвя с фабрично монтирани специални термонабъбващи уплътнения, които се разширяват в случай на пожар, така че фугата между касата и стената да бъде надеждно уплътнена. Това гарантира 30-минутно време на пожароустойчивост. Всички обичайни работи по запълването на касата, които винаги са свързани с допълнителни разходи, могат да бъдат пропуснати. Това се забелязва най-вече при сухото строителство, където времето и бързината са по-важни от всякога. С ъгловите каси EasyFit сте независими от допълнителни материали, температура на околната среда, време за съхнене или достъп до вода.

И много важно: 
Процентът на грешките е сведен до минимум. С EasyFit не може да има погрешно или неправилно поставен материал. И тъй като системата EasyFit е допълнение към познатия и универсално приложим комплект каси NovoPorta Premio, няма нищо ново или специално, което да трябва да се вземе предвид по време на монтажа - не би могло да бъде по-безопасно!

Това е EasyFit от Novoferm.

Термонабъбващ пожарозащитен материал, който се разпенва в случай на пожар и надеждно уплътнява пространството между касата и стената, като по този начин осигурява пожарозащита.

ДОБЪР ЗА ЗИДАРИЯ И БЕТОН. ОТЛИЧЕН ПРИ СУХО СТРОИТЕЛСТВО.

Противопожарните врати NovoPorta Premio с ъглови каси EasyFit са особено подходящи за строителство с гипсокартон и стени със стоманени шпилки мин. F30-A, вкл. 2-компонентна обхватна каса 2140B и горен автомат. Системата EasyFit с монтаж с винтове със скрит монтаж, вкл. монтажен комплект (винтове, дюбели, автомат и самозалепващ се пластмасов покриващ профил), също така опростява монтажа в открити тухлени зидове и  бетон. Добавянето на насрещна каса 2140B за формиране на двукомпонентна обхватна каса е опция. Продуктовата гама включва варианти за еднокрили и двукрили врати в целия диапазон на размерите Premio до 1375 x 2500 mm/ 2500 x 2500 mm, също и в комбинация с димозащита и звукоизолация.

Как работи EasyFit:
В касите фабрично са поставени термонабъбващи ленти от огнеустойчив материал. При температури над 200 °C той се разширява до 10 до 40 пъти от първоначалния си обем и остава изключително стабилен по отношение на размерите. В случай на пожар се гарантира 30-минутна огнеустойчивост. EasyFit е тестван в съответствие с EN 1634, одобрен е от строителните власти чрез европейската техническа оценка ETA-17/0443 и е класифициран като EI2 30-1 или EI2 30-2.
   

Открита тухлена зидария / открит бетон

Олекотена щендерна стена (мин. F30-A или EI 30)

Елемент, състоящ се от:

  • Крило за врата Premio със стандартна ъглова каса
  • Монтаж с винтове за вграждане, вкл. пълен монтажен комплект
  • Пластмасов покриващ профил
  • Горен автомат за врата
  • Фабрично монтиран EasyFit-запълване

Елемент, състоящ се от:

  • Крило за врата Premio с двукомпонентна обхватна каса 2140B за стандартни дебелини на стените 100/125/150 мм (за специални дебелини на стените 100-300 мм, моля, обърнете внимание на по-дългия срок за доставка)
  • Горен автомат за врата
  • Фабрично монтиран EasyFit-запълване 
УНИВЕРСАЛЕН ПРОФИЛ НА КАСА 2140B

УНИВЕРСАЛЕН ПРОФИЛ НА КАСАТА 2140B: ЕДИН ЗА ВСИЧКИ ВИДОВЕ МОНТАЖ

Ъгловата каса е стандартна, а допълнителният универсален профил, който не се нуждае от запълване, е специален. Заедно тази комбинация от предна и насрещна каса води до създаването на двукомпонентна обхватна каса 2140B. И тя има какво да предложи, защото дори вече монтираните ъглови каси могат да бъдат впоследствие допълнени - или по-скоро: усъвършенствани - с насрещната каса.

Допълнителни предимства: 
В съответствие с одобрението е необходимо да се запълни само предната част на касата - насрещната част може да остане празна. Различните методи за запълване улесняват монтажа, както и наличните монтажни комплекти за почти всички видове стени (вж. изображенията).

От само себе си се разбира, че NovoPorta Premio заедно с универсалния рамков профил 2140B е одобрена като цялостна система - с димна, звукова и противопожарна защита (EI2 30, EI2 60, EI2 90), както и със защита от взлом.

Тухлена зидария

Бетон

Газобетон

Стена за монтаж F30-A
(или класифицирана с най-малко EI 30)

Стена за монтаж F30-B
(или класифицирана с най-малко EI 30)

Шпакловани тухли

С профила на касата 2140B можете да реализирате практически всяка идея, защото той не само изглежда впечатляващо:
С наличните монтажни комплекти за всички видове стени той може да бъде бързо закрепен и грижливо запълнен. В зависимост от монтажния екип и ситуацията на строителната площадка се предлагат няколко одобрени вида запълване.
Благодарение на интелигентната комбинация от челни и насрещни профили монтажът е винаги впечатляващо бърз и чист.

ПЛЪЗГАЩИ СЕ АНКЕРИ ЗА БЪРЗ МОНТАЖ

ПЛЪЗГАЩИ СЕ АНКЕРИ ЗА БЪРЗ МОНТАЖ

Необходими са само 10 винта
Касата се монтира в максимум 10 точки за закрепване, подготвени в завода (броят им зависи от типа и размера на вратата) в съответствие с одобрението.
Най-хубавото от всичко: 
Само един винт за всяка точка на закрепване е достатъчен, за да се постигне необходимата стабилност и здравина.

Винаги в правилното положение
Когато захващате касата към доставените планки за ъглови каси, плъзгащият се насрещен елемент се натиска докрай на стената. Като положителен страничен ефект получавате идеалната позиция за закрепване на специалната насрещна каса 2140B.

Монтирайте насрещни планки само там, където наистина са необходими
Необходими са ви само шест плъзгащи се насрещни планки, за да монтирате насрещната каса. Долният анкер е удължен, за да поддържа рамката в зоната на пода, където тя е най-силно изложена на удари. Идеално: за точките за закрепване в горната част не са необходими насрещни планки.

Гъвкаво запълване 
За да отговаряте на изискванията за сертифициране, трябва да запълните само предната част на ъгловата каса. За врата EI2 30 например можете да използвате насипна минерална вата*. Novoferm противопожарна
пяна или EasyFit пълнеж от завода. В протокола за сертификация не се предвижда запълване на насрещната каса.

Просто плъзнете насрещната каса и я закрепете незабележимо
Вече няма нужда от досадно подравняване: просто плъзнете насрещната каса под лек ъгъл отгоре върху долната насрещна планка, доколкото е възможно, закрепете доставените винтове в подготвените отвори и това е всичко. За да завършите, поставете уплътнителния профил в жлеба на касата.

Бърз монтаж с плъзгащи се анкери

Възможно за стени от зидария и бетон с дебелина до 300 mm. За EI2 30 са възможно фабрично запълване на EasyFit.

* Минимална плътност 40 kg/m3 точка на топене > 1000°C клас на строителния материал A1 / Евроклас A1

ВИНТОВ МОНТАЖ ВЪВ ФАЛЦА

PREMIO ПОКОЛЕНИЕТО ПЕЧЕЛИ ТОЧКИ И ПО ОТНОШЕНИЕ НА МОНТАЖА

Само един винт за всяка точка на закрепване!

Независимо дали монтирате обикновена ъглова каса или двукомпонентна обхватна каса 2140B: 
разработеният от Novoferm метод за монтиране на фалц с винтове е бърз и чист начин за атрактивно монтиране на касата.

Най-хубавото от всичко: за да се гарантира максимална стабилност, е необходим само един винт за всяка точка на закрепване. Тъй като се нуждаете само от половината от броя на винтовете, монтажът е много по-бърз. А крайният резултат изглежда наистина добре, тъй като скритите във фалца на касата отвори за пробиване са покрити с капачки, които можете да боядисате и които са напълно невидими когато вратата е затворена. Процесът е одобрен от строителните власти за врати EI2 30, EI2 60 и EI2 90, димоустойчиви или многофункционални врати, както и за врати със защита от взлом. Подходяща е за бетонни и зидани стени с гладка повърхност (EI2 30 също и за измазани стени), но също и за преградни стени от гипсокартон с дървени рамки, класифицирани като F30-B или по-високи (или класифицирани с поне EI 30). Ако подовата настилка все още не е завършена, ъгловата каса може да се удължи с 20 мм с предлаганата като опция
планка за вграждане в пода.

НЕВИДИМО ЗАКРЕПВАНЕ, БЪРЗО ЗАПЪЛВАНЕ

НОВО:
Значително подобрен адаптер за монтиране

EI2 30, MZ
Запълвайте бързо, чисто и стабилно с оригиналната пожарозащитна пяна Novoferm. Перфектна за открити тухлени зидове и открит бетон.

EI2 30, MZ
Изисква се само в зоната на фалца: насипната минерална вата гарантира сухо и бързо запълване на касата, дори когато се изисква изключителна чистота.

EI2 30, MZ
Сега се предлага и монтаж във фалца за зидани и бетонни стени, покрити с мазилка. Одобрено запълване:
хоросан.

EI2 30, EI2 60, EI2 90
Стоманените врати, особено тези с одобрение EI2 60 или EI290, предлагат особено високо ниво на безопасност. Пожароустойчивостта обаче означава и повишено тегло на крилото на вратата, което увеличава изискванията към стабилността и здравината на касата. За максимална стабилност и бърз монтаж препоръчваме монтаж с винтове във фалца с класическо запълване с хоросан - разбира се, с одобрение.

Удължаване на касите на мястото за монтаж. Всички ъглови каси Premio вече се доставят стандартно без подови вложки. На строителната площадка обаче често се случва да се монтира подова настилка. В резултат на това касата трябва да се удължи. Това вече е много лесно с ъгловите каси Premio. Предлаганата като опция планка за вграждане в пода винаги може да бъде закрепена с винт към най-ниския монтажен елемент на ъгловата каса. По този начин се получава каса с 20 mm подова ниша, която може да се монтира в съответствие с нормативните изисквания.

ИДЕАЛНОТО РЕШЕНИЕ ЗА СУХО СТРОИТЕЛСТВО - NOVOPORTA PREMIO EI2 30 С ЛЕСЕН ЗА ЗАПЪЛВАНЕ РАМКОВ ПРОФИЛ 2140B

ИДЕАЛНОТО РЕШЕНИЕ ЗА СУХО СТРОИТЕЛСТВО - NOVOPORTA PREMIO EI2 30 С ЛЕСЕН ЗА ЗАПЪЛВАНЕ РАМКОВ ПРОФИЛ 2140B

Леките преградни стени в категории от F30-A или с класификация EI30 или по-висока са доказали, че са
бързо, чисто и гъвкаво решение за пожароустойчивост при вътрешно строителство. Системата за врати
NovoPorta Premio EI230, специално за монтажни стени, позволява вратите и касите да се монтират също толкова бързо, лесно и чисто. Системата се състои от атрактивната стоманена врата NovoPorta Premio с
множество висококачествени характеристики и двукомпонентния профил на рамката 2140B.

Едно от основните предимства е одобреното използване на запълване на касата с пожарозащитна пяна Novoferm и насипна минерална вата*. Според одобрението трябва да се запълни само фалца на предния профил на касата, докато специалния насрещен профил 2140B може да остане празен. Необходимата минерална вата обикновено вече е налична на място. Рамковият профил 2140B може да бъде
запълнен и класически с гипсокартонени ленти за вариантите Premio с одобрение EI2 60 и EI2 90. Цялостната
система е тествана в съответствие с EN 1634-1 и -3 и също така отговаря на изискванията на европейския продуктов стандарт EN 16034 или е обхваната от ETО. Специалните монтажни комплекти за стени EI 30-EI 90 (или за стени от F30-A) с практичните плъзгащи анкери и самонарезни винтове за UA профили намаляват осезаемо времето за монтаж.

* Минимална плътност 40 kg/m3, температура на топене > 1000°C, клас строителен материал A1 / Евроклас A1

ЗАПЪЛВАНЕ НА КАСИТЕ С КОНВЕНЦИОНАЛНА МИНЕРАЛНА ВАТА

  • Изолационен материал от минерални влакна, обемна плътност ≥ 40 kg/m3, температура на топене > 1000°C
    клас на строителния материал A1 / Евроклас A1
  • Необходимата минерална вата - в насипно състояние или на ленти - може да бъде закупена от всеки
    специализиран магазин
  • Ниска цена и лесна употреба благодарение на това, че се транспортират лесно, сглобяват се бързо, почистват се и се монтират бързо
  • Спестява се време, тъй като с минерална вата трябва да се запълни само предният профил на касата 2140, а задният може да се остави празен
  • Одобрен за Premio EI230 до размер на еднокрила врата -1375 x 2500 mm, двукрила врата - до 2500 x 2500 mm

Запълване на касите с конвенционална минерална вата

ЗАПЪЛВАНЕ С ПРОТИВОПОЖАРНА ПЯНА

  • Само с пистолетна пожарозащитна пяна Novoferm 1K (не се допуска използването на други пяни, продавани без предписание!)
  • Значително намалява шума при затваряне на вратите
  • Ниска цена и лесна употреба благодарение на това, че се транспортират лесно, сглобяват се бързо, почистват се и се монтират бързо
  • Спестява се време, тъй като с пожарозащитна пяна трябва да се запълни само частта на фалца в предната
    част на касата 2140B, а задната част може да се остави празна (стърчащата пяна се покрива от задната част и следователно не е необходимо да се отрязва или отстранява)
  • Тя предлага добро съотношение цена-качество, тъй като една опаковка пожарозащитна пяна покрива
    приблизително 12 метра - и следователно е достатъчна за поне две еднокрили врати
  • Изпитани в съответствие с EN 1634 -1 и -3
  • Одобрен за Premio EI230 до размер на еднокрила врата -1375 x 2500 mm, двукрила врата - до 2500 x 2500 mm

Запълване с противопожарна пяна

ПРЕДИМСТВА НА КАСАТА ЗА СУХО СТРОИТЕЛСТВО

ПРЕДИМСТВА НА КАСАТА ЗА СУХО СТРОИТЕЛСТВО

АКО ХАРЕСВАТЕ ДЪРВО, ЩЕ ЗАОБИЧАТЕ NOVOPORTA PREMIO

Дърводелците и собствениците на имоти, които се грижат за околната среда, обичат да работят с дърво, тъй като то е възобновяем ресурс. Техните инструменти са пригодени за работа с дърво, а не с метал.

Когато проектирахме NovoPorta Premio, ние отдадохме голямо значение на това да гарантираме, че простият и траен метод на винтов монтаж на рамковия профил 2140B ще бъде подходящ и за монтаж върху дървени преградни стени.

Класификацията EI230-Premio вече включва и монтажни стени с дървени рамки EI 30 (или по-високи) (или
монтажни стени от F30-B) и голям брой други облицовани дървени елементи и греди (най-малко EI 30 или R 30).

ИЗБОРЪТ Е ВАШ - НИЕ МОЖЕМ ДА ОСИГУРИМ ВСИЧКО, ОТ КОЕТО СЕ НУЖДАЕТЕ, ЗА ДА РАБОТИТЕ БЪРЗО И ЧИСТО!

Ако трябва да запълвате само половината, можете да работите два пъти по-бързо - особено ако можете дори да избирате материала, с който да работите. Тъй като насрещният капак на рамковия профил 2140B EI2 30 може да бъде оставен напълно празен, трябва да запълните само фалца на предния профил, например с насипна минерална вата. Този материал е популярен за запълване на стени F30-A или EI30 и затова обикновено вече е наличен на обекта. При преградни стени EI 30 винаги спазвайте минималната
дебелина на дъската от 20 mm за всяка страна на стената. Това ви гарантира например, че дори при използване на 3D панти за врати или електрически монтирани части не се налага да правите изрези/нарези в 3-странните UA профили. Спестяването на време е гарантирано!
 

Детайлите накратко:

Novoferm пожарозащитна пяна
Първо монтирайте предната част от касата, впръскайте бързо и чисто одобрената пожарозащитна пяна Novoferm, след което монтирайте насрещния профил на касата. Ефективен начин на работа - една кутия пяна е достатъчна за две до три каси.

Насипна минерална вата
Ако предпочитате да работите с насипна минерална вата*, поръчайте необходимото количество или
използвайте каквото е налично на място, стига да е в съответствие със спецификациите. Нарежете подходящата дебелина минерална вата на ленти с правилен размер и я вкарайте в предния профил на касата, след като сте монтирали касата. След това просто монтирайте насрещния профил на касата.

Ленти от гипсокартон
Нарежете съществуващите гипсокартонени плоскости на ленти с подходящи размери и ги поставете в касата, преди да я монтирате в стената. Процедура, която винаги се радва на голяма популярност и най-важното - на одобрение, при липса на пяна или минерална вата.

* Минимална плътност 40 kg/m3, температура на топене > 1000°C, клас строителен материал A1 / Евроклас A1