СИСТЕМИ ОТ СТОМАНЕНИ РАМКОВИ ПРИФИЛИ ОТ NOVOFERM
НОВО- NOVOFIRE STEEL
С NovoFire® Steel, Novoferm пуска на пазара първата врата от стоманени рамкови профили, разработена и произведена в компанията, която е одобрена като пожарозащитно и димозащитно решение. Новата врата впечатлява с многобройните си предимства: иновативната геометрия на профила дава възможност за елегантен дизайн и голяма гъвкавост по отношение на конструкцията, остъкляването, обкова и допълването с други одобрени компоненти. Системата се характеризира и с лесен монтаж и получава висока оценка по отношение на устойчивостта, тъй като е изработена от рециклируема стомана.
За съвременното строителство
Вратите от рамокови профили NovoFire® Steel са изградени от стоманени профили с конструктивна дълбочина 65 мм и дебелина на материала 1,8 мм. Серията се характеризира с надеждна защита от огън и/или дим, както и с широк спектър от възможности за приложение, гъвкава конфигурация и лесен монтаж
Висока функционалност
Предлага се като пожароустойчива врата NovoFire® Steel T30 (EI 30 S200 C5) и като димозащитна врата NovoFire® Steel RS (S200). Нашите врати предлагат лесен монтаж и прецизно регулиране с добре обмислени детайли (включително уникален многофункционален жлеб за лесен монтаж и прецизно регулиране на обков и т.н.).
Устойчивост
Основният профил на вратите с рамкови профили Novoferm е изработен от 100% рециклируема стомана и винаги се монтира в една равнина. Вратата може да бъде лесно дооборудвана с различни компоненти. Това позволява впоследствие системата да се адаптира към променящите се изисквания.
Сравнение и характеристики на вратите
Сравнение на вратите от стоманени рамкови профили
| Вид врата | Сертификат за изпитване | Материал на профила | T30 | T90 | Димозащита | RC 2 | RC 3 | Топлоизолация |
| NovoFire Steel RS | P-5022 DMT DO | Стомана |
|
| • |
|
|
|
| NovoFire Steel T30 | - | Стомана | • |
| • |
|
|
|
| NovoFire Steel F30 | - | Стомана | • |
|
|
|
|
|
| Forster fuego T90 | Z-6.20-1881 | Стомана |
| • | • |
|
|
|
| Forster fuego F90 | Z-19.14-1973 | Стомана |
| • |
|
|
|
|
| Forster unico | - | Стомана |
|
|
| • | • | • |
| Forster unico EI30 | Декларация за експлоатационни характеристики | Стомана | • |
| • |
|
| • |
NovoFire Steel - детайли
NovoFire Steel - детайли
NOVOFIRE® STEEL
NOVOFIRE® STEEL T30 UND NOVOFIRE® STEEL RS
Вратите от рамкови профили NovoFire® Steel се произвеждат от стоманени профили с конструктивна дълбочина 65 мм и дебелина на материала 1,8 мм. Серията се характеризира с надеждна защита от огън и/или дим, както и с широк спектър от възможности за приложение, гъвкава конфигурация и лесен монтаж. Предлагана като пожарозащитна врата NovoFire® Steel T30 (EI 30 S200 C5) и като димозащитна врата NovoFire® Steel RS (S200), NovoFire® Steel отговаря на различни изисквания за безопасност.
NovoFire® Steel T30 гарантира 30-минутен период на пожароустойчивост и предотвратява разпространението на огън и дим през това време. Термонабъбващата лента „Promaseal“, която е интегрирана в гумения профил на фалца на вратата, осигурява безопасна защита от пожар. NovoFire® Steel RS се препоръчва в ситуации, в които се изисква само защита от дим. Тази система, изпитана в съответствие с DIN 18095 и DIN EN 1634-3, успешно предотвратява преминаването на дим и по този начин осигурява надеждно затваряне на помещението.
[1] Добра визия благодарение на функционалното уплътнение в зоната на фалца на вратата, за защита от дим и пожар
[2] Предлага се широка гама от варианти на остъкляване, включително остъкляване от двете страни
[3] Основният профил е изработен от 100% рециклируема стомана и винаги се монтира на едно ниво със стената
[4] Уникалният многофункционален жлеб позволява лесен монтаж и прецизно регулиране на обкова
ЗАЩО ДА ИЗБЕРЕТЕ НОВИТЕ ВРАТИ NOVOFIRE®STEEL ОТ NOVOFERM
NovoFire® Steel съчетава десетилетия опит в производството на врати от рамкови профили и пожаро- и димозащитата. Резултатът е система, която не само се характеризира с високо ниво на безопасност при авария, но и дава други възможности, като автоматизация, антипаник функция, контрол на достъпа или звукоизолация.
Многобройните предимства включват:
- Лесен монтаж
- Изключителен дизайн, голяма гъвкавост и здравина благодарение на иновативната геометрия на профилите
- Големи размери
1 крило: 1560 мм x 3000 мм
2-крило: 3 000 mm x 3 000 mm - Разширяващи се профили за увеличаване на външните размери на рамката
- Различни пожароустойчиви стъкла и панели с различни пълнежи
- Висока стабилност на конструкцията в случай на пожар (NovoFire® Steel T30)
Стоманена система - детайли
Стоманена система - детайли
СИСТЕМИТЕ ОТ СТОМАНЕНИ РАМКОВИ ПРОФИЛИ NOVOFERM ПРЕДЛАГАТ БЕЗОПАСНОСТ И КОМФОРТ ВЪТРЕ И НАВЪН
Системите от рамкови профили Novoferm, изработени от стомана, са идеални компоненти за безопасни и в същото време естетически изискани приложения в областта на димозащитните и противопожарните решения.
Статичните свойства на основния материал позволяват създаването на ненадминати филигранни структури с елегантни и тесни лицеви ширини.
В допълнение към „Presto RS“ за защита от дим и „Fuego light“ за защита от пожар - и двете предназначени за вътрешна употреба - предлагаме и „Unico“, профилна конструкция за изграждане на системи за външни врати.
Това, което я прави специална: с иновативния си прекъснат термомост, който напълно премахва пластмасата, тази система е напълно рециклируема.
ОПИСАНИЕ НА СИСТЕМИТЕ „PRESTO” И „FUEGO LIGHT”*
Вратата е изработена от прецизно оразмерени поцинковани стоманени профили. Вратата е изпитана като димозащитна врата с помощта на автоматично спускащо се подово уплътнение в съответствие с DIN 18095. Видима ширина на рамката и крилото - 130 mm, височина на цокъла - 50, 70 - 420 mm, дълбочина на монтаж - 50 mm. Размерите на пасивното крило не трябва да са по-малки от 500 mm за двукрилите врати. Елементите са подготвени за поставяне или заваряване.
ОБКОВ
Обикновена брава, подготвена фабрично за патрон, дръжка или дръжка-топка с овални розетни шилдове, изработена от алуминий, неръждаема стомана или пластмаса. Пасивното крило стандартно е фиксирано от горния заключващ механизъм на активното крило. Като алтернатива е възможна и функция „антипаник“, която отговаря на EN 179 или EN 1125. Автоматите за самозатваряне, разположени в горната част на вратата, са в съответствие с EN 1154, напр. GEZE TS 5000 / Dorma TS 93, интегрираните автомати за врати (GEZE Boxer/Dorma ITS 96), както и електрическите задвижвания са в съответствие с DIN 18263 / DIN 18650.
ПАНТИ
Две двусъставни заварени стоманени панти за всяко крило, 3D регулируеми; препоръчваме три панти, ако вратата е оборудвана с автомат. Възможни са и други варианти на панти, като например винтови панти, ролкови панти, вградени панти.
ПОВЪРХНОСТ
Прахово боядисана, грундирана по RAL 9002 (сиво-бяло) или по желание с покритие (RAL Classic по ваш избор).
ОСТЪКЛЕНИЕ
Защитно стъкло VSG или ESG. Варианти на остъкление и запълване на панелите, профили с едностранен фалц за остъкляване и стъклодържачи от противоположната страна на пантата, сухо стъкло с EPDM уплътнения.
ФИКСИРАНО ОСТЪКЛЕНИЕ
Свързани с врата, възможно е и самостоятелно, по избор със скосяване или Т-образни връзки. Рамковите профили трябва да са разположени без прекъсване по цялата височина на фиксираното остъкление.
Стоманата - високо качество и добра за околната среда
Стоманата - високо качество и добра за околната среда
СТОМАНАТА – ВИСОКО КАЧЕСТВО И ДОБРА ЗА ОКОЛНАТА СРЕДА
Строителната индустрия винаги търси нови стратегии за работа по възможно най-екологичен начин. Примери за това са даването на предимство на реновирането пред новото строителство или предпочитането на суровини от региона, за да се запазят кратките транспортни маршрути. Важна роля обаче играе и възможността за повторно използване на материалите. В този случай стоманата е особено подходяща, тъй като този материал може да се рециклира на 100%.
Това е и една от причините, поради които Novoferm пусна на пазара пожароустойчиви и димозащитни врати NovoFire® Steel, изработени от стомана, които използват това предимство и предлагат допълнителна устойчивост.
ТРИТЕ НАЙ-ВАЖНИ ПРЕДИМСТВА НА СТОМАНАТА
100 % РЕЦИКЛИРУЕМА
Стоманата може да се използва повторно неограничен брой пъти, тъй като този материал може да се рециклира толкова често, колкото е необходимо, без да се губи качеството му. Затова старите стоманени компоненти не са отпадъци, които трябва да се изхвърлят, а основа за нови продукти.
ЕФЕКТИВНО ИЗПОЛЗВАНЕ НА МАТЕРИАЛИТЕ
Стоманата предлага висока здравина дори при много деликатни геометрични форми. Това се дължи отчасти на високия й коефициент на еластичност и отчасти на това, че стоманата може да се заварява. Това означава, че могат да се произвеждат много издръжливи продукти, като се използва сравнително малко материал.
УСТОЙЧИВОСТ
Благодарение на отличната си издръжливост стоманените системи се използват дълго време. Това значително намалява потреблението на материали и енергия, което би възникнало, ако те трябваше да бъдат подменени.
УСТОЙЧИВОСТ ОТ NOVOFERM
Консумирайте по-малко, постигайте повече:
Ефективното използване на енергия и други ресурси е неразделна част от нашата корпоративна култура, както и постоянната оптимизация на продуктите и процесите по отношение на устойчивостта. Това ни позволява да предлагаме на нашите клиенти решения, с които съвременните изисквания за устойчивост могат да бъдат надеждно реализирани.
Точно както при NovoFire® Steel:
Тази система не само е изработена от рециклируема стомана, но и спестява важни ресурси благодарение на съвместимостта си със системата, възможностите за лесно преоборудване и устойчивостта ѝ.
ЧЕТИРИ ПЪТИ ПО-ВИСОКА УСТОЙЧИВОСТ СЪС NOVOFIRE® STEEL
СЪВМЕСТИМОСТ НА СИСТЕМАТА
Използването на стандартен обков от утвърдената алуминиева система NovoFire® спестява ресурси, оптимизира рентабилността и гарантира безопасност въз основа на дългогодишния опит със съответната технология.
ВЪЗМОЖНОСТ ЗА МОДЕРНИЗИРАНЕ
NovoFire® Steel може лесно да се дооборудва с различни компоненти. Това позволява системата да се адаптира към променящите се изисквания. Не е необходима цялостна подмяна.
ИЗДРЪЖЛИВОСТ
Стоманата NovoFire® се произвежда чрез специален технологичен процес. Профилите са изработени от ламарина с горещо покритие, което гарантира висока устойчивост на корозия, дори в кухите камери.
ДЕКЛАРАЦИИ ЗА ЕКОЛОГИЧНИ ПРОДУКТИ
Стоманените системи от рамкови профили Novoferm се произвеждат по начин, щадящ околната среда, което се доказва от различни продуктови декларации или удостоверения, включително ISO 14025, EN 15804, ISO 14001 и в съответствие с критериите на BREEAM, DGNB и LEED.
Акценти на NovoFire Steel
Тази анимация представя накратко основните характеристики на вратите със стоманени рамкови профили на Novoferm - NovoFire® Steel
Допълнителни анимации можете да намерите на адрес:
Акценти
- Врати от стоманени рамкови профили, разработени и произведени от Novoferm
- Предлагат се като пожароустойчиви врати NovoFire Steel T30 / EI 30, Forster Fuego T90 / EI 90 и като димозащитни врати NovoFire Steel RS
- Лесен монтаж и прецизно регулиране с добре замислени детайли (напр. уникален многофункционален жлеб, позволяващ лесен монтаж и прецизно регулиране на обкова, ...)
- Устойчивост, благодарение на основните профили, изработени от 100% рециклируема стомана
Стоманени профили с конструктивна дълбочина 65 мм и дебелина на материала 1,8 мм
- Термонабъбващото „противопожарно уплътнение“, което е вградено в гумения профил във фалца на вратата, осигурява надеждна противопожарна защита
- Предлага се до размер BRM 1 560 x 3 000 мм (еднокрила) или 3 000 x 3 000 мм (двукрила)
- Може да се комбинира със странични и горни фиксове
- Различни пожароустойчиви стъкла и панели с различни пълнежи
- Голям избор на варианти на стъклодържачи, компоненти за обков и други елементи за обков
Технически данни и детайли
Технически данни NovoFire Steel RS
| Клас устойчивост | RS | ||||
| Тип | NovoFire® Steel RS-1 | NovoFire® Steel RS-1 комбинация с врата | NovoFire® Steel RS-2 | NovoFire® Steel RS-Tür с остъкление | |
| Модел | |||||
| Вертикални разделящи профили на крилото | 1 | 1 | 1 | всички | |
| Хоризонтални разделящи профили на крилото | 2 | 2 | 2 | всички | |
| Елементи на дизайна | |||||
| Наклони | - | - | - | • | |
| Арки | - | - | - | - | |
| Вдлъбнатини | - | - | - | • | |
| Ъгли | - | - | - | - | |
| Разширения | • | • | • | • | |
| Размери | |||||
| Зидарски отвор | ширина: min. — max. | 625 – 1840* | ≤ 3840* | 1350 – 3280* | неограничен1) |
| височина: min. — max. | 1750 – 3140* | ≤ 4140* | 1750 – 3140* | ≤ 4160 | |
| Външен размер на рамката | ширина: min. — max. | 585 – 1800* | 2585 – 3800* | 1310 – 3240* | неограничен 1) |
| височина: min. — max. | 1730 – 3120* | 2730 – 4120* | 1740 – 3120* | ≤ 4000 | |
Светъл отвор, когато крилото е отворено на 180° | ширина: min. — max. | 431 – 1406 | 431 – 1406 | 1156 – 2846 | - |
| височина: min. — max. | 1653 – 2923 | 1653 – 2923 | 1653 – 2923 | - | |
| min. ширина на отвора GF: | - | - | 500 | - | |
| max. ширина на отвора GF: | - | - | 1474 | - | |
| Крила | |||||
| Дълбочина на монтаж | 65 | 65 | 65 | 64 | |
| Изглед | 140 | 140 - 160 | 140 | 73 | |
| Височина на цокъл | 93 | 93 | 93 | 73 - 93 | |
| Профил на щурца, отделящ вратата от фикса | 20 – 100/ 93 | 20 – 100/ 93 | 20 – 100/ 93 | 20 – 100/ 93 | |
| Стена | |||||
| Зидария | ≥ 150 | ≥ 150 | ≥ 150 | ≥ 150 | |
| Бетон | ≥ 100 | ≥ 100 | ≥ 100 | ≥ 100 | |
| Газобетонни блокове или тухли (клас на якост 4) | ≥ 150 | ≥ 150 | ≥ 150 | ≥ 150 | |
| Газобетонни тухли след одобрение (клас на якост 4.4) 1) | ≥ 150 | ≥ 150 | ≥ 150 | ≥ 150 | |
| Щендерна стена (височина ≤ 5 m) от стомана, с облицовка от двете страни 2) | ≥ 100 | ≥ 100 | ≥ 100 | ≥ 100 | |
| Щендерна стена (височина ≤ 5 m) от дърво, с облицовка от двете страни 2) | ≥ 130 | ≥ 130 | ≥ 130 | ≥ 130 | |
| Облицовани стоманени колони | • | • | • | • | |
| Облицовани дървени колони | • | • | • | • | |
| Комбинация остъкление/ врата | - | - | - | - | |
| Z-каса | - | - | - | - | |
| Пълнежи | |||||
| VSG или ESG | • | • | • | • | |
| Панел | • | • | • | • | |
Уплътнение на стъклото | Сухо стъкло (Гумено уплътнение) | • | • | • | • |
| Мокро стъкло (Самозалепващо се уплътнение) | • | • | • | • | |
| Варианти на дизайна | |||||
| С горен и страничен фикс | • | • | • | • | |
| С горен фикс | • | - | • | • | |
| Със страничен фикс | • | - | • | • | |
| Звукоизолация max. Rw,P (Rw,R) | 42 (37) | - | 42 (37) | - | |
| AbP-Nr. Сертификат за изпитване | P-5022 DMT DO | P-5022 DMT DO | P-5022 DMT DO | 1) | |
• = възможно — = не е възможно RAM = външен размер на рамката Всички размери са в mm. * Включително разширяване на рамката (макс. 120 мм, отдясно, отляво и отгоре). | |||||
Технически данни NovoFire Steel T30 / EI 30
| Клас на устойчивост | T30 | ||||
| Тип | NovoFire® Steel | NovoFire® Steel | NovoFire® Steel | NovoFire® Steel | |
| Модел | |||||
| Вертикални разделящи профили на крилото | 1 | 1 | 1 | всички | |
| Хоризонтални разделящи профили на крилото | 2 | 2 | 2 | всички | |
| Елементи на дизайна | |||||
| Наклони | - | - | - | • | |
| Арки | - | - | - | - | |
| Вдлъбнатини | - | - | - | • | |
| Ъгли | - | - | - | - | |
| Разширения | • | • | • | • | |
| Размери | |||||
| Зидарски отвор | ширина: min. — max. | 625 – 1840* | ≤ 3840* | 1350 – 3280* | неограничен |
| височина: min. — max. | 1750 – 3140* | ≤ 4140* | 1750 – 3140* | ≤ 4160 | |
| Външен размер на рамката | ширина: min. — max. | 585 – 1800* | 2585 – 3800* | 1310 – 3240* | неограничен |
| височина: min. — max. | 1730 – 3120* | 2730 – 4120* | 1740 – 3120* | ≤ 4000 | |
Светъл отвор, когато крилото е отворено на 180° | ширина: min. — max. | 431 – 1406 | 431 – 1406 | 1156 – 2846 | - |
| височина: min. — max. | 1653 – 2923 | 1653 – 2923 | 1653 – 2923 | - | |
| мин. ширина на отвора GF: | - | - | 500 | - | |
| макс. ширина на отвора GF: | - | - | 1474 | - | |
| Крила | |||||
| Дълбочина на монтаж | 65 | 65 | 65 | 64 | |
| Изглед | 140 | 140 - 160 | 140 | 73 | |
| Височина на цокъл | 93 | 93 | 93 | 73 - 93 | |
| Профил на щурца, отделящ вратата от фикса | 20 – 100/ 93 | 20 – 100/ 93 | 20 – 100/ 93 | 20 – 100/ 93 | |
| Стена | |||||
| Зидария | ≥ 150 | ≥ 150 | ≥ 150 | ≥ 150 | |
| Бетон | ≥ 100 | ≥ 100 | ≥ 100 | ≥ 100 | |
| Газобетонни блокове или тухли (клас на якост 4) | ≥ 150 | ≥ 150 | ≥ 150 | ≥ 150 | |
| Газобетонни тухли след одобрение (клас на якост 4.4) 1) | ≥ 150 | ≥ 150 | ≥ 150 | ≥ 150 | |
| Щендерна стена (височина ≤ 5 m) от стомана, с облицовка от двете страни 2) | ≥ 100 | ≥ 100 | ≥ 100 | ≥ 100 | |
| Щендерна стена (височина ≤ 5 m) от дърво, с облицовка от двете страни 2) | - | - | - | - | |
| Облицовани стоманени колони | • | • | • | • | |
| Облицовани дървени колони | • | • | • | • | |
| Комбинация остъкление/ врата | - | - | - | - | |
| Z-каса | - | - | - | - | |
| Пълнежи | |||||
| VSG или ESG | • | • | • | • | |
| Панел | • | • | • | • | |
Уплътнение на стъклото | Сухо стъкло (Гумено уплътнение) | • | • | • | • |
| Мокро стъкло (Самозалепващо се уплътнение) | • | • | • | • | |
| Варианти на дизайна | |||||
| С горен и страничен фикс | • | • | • | • | |
| С горен фикс | • | - | • | • | |
| Със страничен фикс | • | - | • | • | |
| Звукоизолация max. Rw,P (Rw,R) | 42 (37) | - | 42 (37) | - | |
| AbP-Nr. Сертификат за изпитване | Z-6.20-… 3) | Z-6.20-… 3) | Z-6.20-… 3) | Z-6.20-… 3) | |
• = възможно — = не е възможно RAM = външен размер на рамката Всички размери са в mm. * Включително разширяване на рамката (макс. 120 мм, отдясно, отляво и отгоре). | |||||
Технически данни Forster Fuego T90 (EI 90)
| Клас на устойчивост | T90 (EI2 90) / F90 | ||||
| Тип | Fuego light | Fuego light | Fuego light | ||
| Елементи на дизайна | |||||
| Наклони | - | - | • | ||
| Арки | - | - | • | ||
| Вдлъбнатини | - | - | • | ||
| Ъгли | - | - | • | ||
| Разширения | • | • | • | ||
| Размери |
|
|
| ||
| Зидарски отвор | ширина min. - max. | 740 - 1580 | 1440 - 2530 | неограничен ¹) | |
| височина min. - max. | 1745 - 2590 | 1745 - 2590 | 4020 | ||
| височина (с горен фикс) | 1845 - 4020 | 1845 - 4020 | - | ||
| Външен размер на рамката | ширина min. - max. | 700 - 1540 | 1400 - 2490 | неограничен ¹) | |
| височина min. - max. | 1725 - 2570 | 1725 - 2570 | 4000 | ||
| височина (с горен фикс) | 1825 - 4000 | 1825 - 4000 | - | ||
| Светъл отвор, когато крилото е отворено на 180° | ширина min. - max. | 560 - 1400 | 1260 - 2350 | – | |
| височина min. - max. | 1655 - 2500 | 1665 - 2500 | – | ||
| Крила |
|
|
| ||
| Дълбочина на монтаж | 70 | 65 | 65 | ||
| Изглед | 130 | 130 / 150 | 70 / 90 | ||
| Височина на цокъл | 90, 140-340 | 90, 140-340 | 90, 140-340 | ||
| Профил на щурца, отделящ вратата от фикса | 90 | 90 | 90 | ||
| Залепен стъклодържач | 30, 50 (до 200) | 30, 50 (до 200) | 30, 50 (до 200) | ||
| Стена | |||||
| Зидария | ≥ 175 ²) | ≥ 175 ²) | ≥ 175 | ||
| Бетон | ≥ 140 ³) | ≥ 140 ³) | ≥ 140 | ||
| Газобетонни блокове или тухли | ≥ 240 4) | ≥ 240 4) | ≥ 240 | ||
| Газобетонни панели | ≥ 150 4) | ≥ 150 4) | ≥ 150 | ||
| Щендерни стени от ригели или стоманени щендери | ≥ 100 ³) 4) | ≥ 100 ³) 4) | ≥ 100 ³) 4) | ||
| Щендерни стени от ригели или дървени щендери | - | - | - | ||
| Облицован стоманена конструкция | • | • | • | ||
| Облицована дървена конструкция | - | - | - | ||
| Комбинация врати / остъкления | • | • | • | ||
| Z-каса | - | - | - | ||
| |||||
| Пълнежи | |||||
| Pyrostop 90-102 max. ширина x височина | 1304 x 2364 | 1304 x 2364 | 1350 x 2800 | ||
| Панел, max. ширина x височина | 1064 x 2184 | 1064 x 2184 | 1305 x 2185 | ||
| Стъкло / панел | • | • | • | ||
| Стъкло | Мокро стъкло | • | • | • | |
Сухо стъкло | - | - | - | ||
|
|
| |||
| Варианти на дизайна |
|
|
| ||
| с горен и страничен фикс | • | • | - | ||
| с горен фикс | • | • | - | ||
| със страничен фикс | • | • | - | ||
| Димозащита съгласно DIN 18095 и DIN EN 1634 - част 3 (в комбинация с DIN 4102) | • | • | - | ||
| Звукоизолация макс. Rw,P (Rw,R) | - | - | - | ||
| Устойчивост на взлом | - | - | - | ||
| Топлопроводимост Uf | - | - | - | ||
|
|
|
| ||
| Сертификат за изпитване | Z-6.20-1881 | Z-6.20-1881 | Z-19.14-1973 | ||
| Изпитан в съответствие с | DIN 4102 и DIN EN 1634 | ||||
| • възмижно – не е възможно ¹) в съответствие със законовите изисквания ²) до RAM 2400 x 2600 с горен и страничен фикс, за зидария 240 RAM до 4500 x 3500, до височина 4000 само с горен фикс ³) до RAM 4500 x 3500 с горен и страничен фикс, до височина = 4000 само с горен фикс 4) Изискване за кух стоманен профил с размери мин. 50 x 50 x 4 | |||||
| Всички размери са в mm, RAM = Външен размер на рамката | |||||
Технически данни за външни врати от стомана
| Клас на устойчивост |
|
| Термоизолирани външни системи от рамкови профили |
|
| Тип |
| 1-крила врата | 2-крила врата | Термоизолирано остъкление ²) |
| Елементи на дизайна |
|
|
|
|
| Наклони |
| – | – | • |
| Арки |
| – | – | • |
| Вдлъбнатини |
| – | – | • |
| Ъгли |
| – | – | • |
| Разширения |
| • | • | • |
| Размери |
|
|
|
|
| Зидарски отвор | ширина min. – max. | 6300 - 1530 | 1500 - 2400 | неограничен ¹) |
височина min. – max. | 1765 - 3015 | 1740 - 2400 | 5000 ¹) | |
| Външен размер на рамката | ширина min. – max. | 600 - 1500 | 1400 - 3000 | неограничен ¹) |
височина min. – max. | 1750 - 3000 | 1750 - 3000 | 5000 ¹) | |
| Светъл отвор, | ширина min. – max. | 460 - 1360 | 1260 - 2860 | – |
| когато крилото е отворено на 180° | височина min. – max. | 1680 - 2930 | 1680 - 2930 | – |
| Крила |
|
|
|
|
| Дълбочина на монтаж |
| 65 | 65 | 65 |
| Изглед |
| 130 | 130 / 150 | 70 / 90 |
| Височина на цокъла |
| 70, 90, 140 - 340 | 70, 90, 140 - 340 | 70, 90, 140 - 340 |
| Профил на щурца, отделящ вратата от фикса |
| 90 | 90 | 90 |
| Залепен стъклодържач |
| 30, 50, (до 400) | 30, 50, (до 400) | 30, 50, (до 400) |
| Стена |
| • | • | • |
| Зидария |
| • | • | • |
| Бетон |
| • | • | • |
| Газобетонни блокове или тухли |
| • | • | • |
| Газобетонни плочи | • | • | • | |
| Щендерни стени |
| • | • | • |
| от стоманени щендери |
| • | • | • |
| от дървени щендери |
| • | • | • |
| Комбинация врати / остъкления |
| • | • | • |
| Z-каса |
| – | – | – |
| Пълнежи |
|
| ||
| Дебелина на остъклението 4) |
| 20-54 mm | ||
| Панел |
| • | • | • |
| Стъкло / панел |
| • | • | • |
| Стъкло | Мокро стъкло | – | – | – |
Сухо стъкло | • | • | • | |
| Варианти на дизайна |
|
|
|
|
| с горен или страничен фикс |
| • | • | • |
| с горен фикс |
| • | • | • |
| със страничен фикс |
| • | • | • |
| Устойчивост на пропускливост на фугите клас |
| 4 | 4 | 4 |
| Устойчивост на силен дъжд клас |
| до 5A | до 5A | – |
| Звукоизолация |
| 47 dB | 47 dB | 47 dB |
| Устойчивовост на взлом |
| WK 1-3 | WK 1-3 | – |
| Топлопроводимост Uf |
| > 1,4 - 1,9 W/m²K | > 1,4 - 1,9 W/m²K | > 1,4 - 1,9 W/m²K |
|
|
|
| |
| CE маркировка съгласно EN 14351-1 |
| • | • | • |
| Изпитан в съответствие с | DIN 4102 и DIN EN 1634 | |||
| • възможно – не е възможно ¹) Спрямо законовите изискванията ²) Без фасада, без прозорци с възможност за накланяне и завъртане ³) Предлагат се и други размери 4) Предлагат се всички стандартни видове стъкла | ||||
| Всички размери са в mm, RAM = Външен размер на рамката | ||||
Монтаж
ЛЕСЕН МОНТАЖ
По-долу ще можете да се запознаете с предимствата на лесния монтаж и многобройните възможности за монтаж на вратите от рамкови профили на Novoferm - NovoFire Steel.
Монтаж и прецизна настройка
МОНТАЖ И ПРЕЦИЗНА НАСТРОЙКА – АКЦЕНТИ
ОСТЪКЛЕНИЯ
Остъклението NovoFire® Steel предлага максимална гъвкавост по отношение на дизайна, вида на стъклото и технологията на остъкляване. Вратите могат да бъдат проектирани с един или два странични панела и/или горен фикс. Като пълнеж може да се използва моно или изолационно остъкление или панели с пълнеж от други материали. Дебелината на панелите е между 6 и 34 mm. Вратите NovoFire® Steel могат да се произвеждат с фиксирани стъклодържачи, индивидуално с U-образни връзки, в рамкова конструкция или като комбинация от двете.
По отношение на технологията на остъкляване са възможни както сухо стъкло (черно EPDM уплътнение от външната страна), така и мокро стъкло (със самозалепващо се уплътнение).
ОБКОВ
Големият избор от изпитан и одобрен обков не оставя нищо за желаене.
Използването на стандартни компоненти осигурява ефективно и икономично производство и монтаж.
ПРОФИЛ
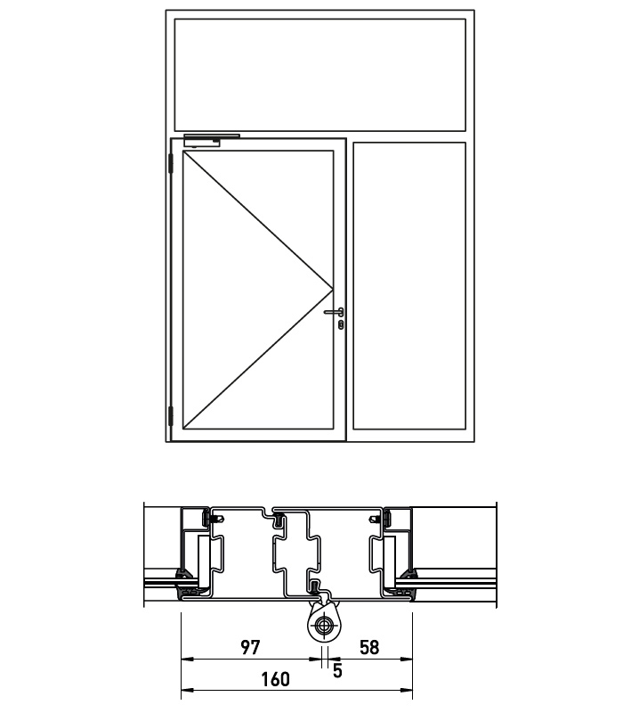
Централният елемент на системата NovoFire® Steel е стоманен профил с конструктивна дълбочина 65 mm и дебелина на материала 1,8 mm.
Благодарение на новата форма на профила и многофункционалния жлеб, той е съвместим с компонентите на нашата гама обкови. Правилно пробитите отвори в профила улесняват закрепването на конструкцията и свързването ѝ с други елементи в рамковата конструкция.
Тези отвори също така улесняват полагането на кабели за електрифициране на вратата, както по време на производството, така и на по-късен етап.
ПАНТИ
NovoFire® Steel T30/ RS използва новоразработените заварени панти за врати, които поставят нови стандарти благодарение на това, че не се нуждаят от поддръжка и се регулират лесно дори след монтажа.
Освен това се предлага избор от няколко дизайна на пантите, за да се изпълнят всички функционални изисквания и едновременно с това да се усъвършенства дизайнът на вратата.
ФАЛЦ НА ВРАТАТА
Функционалната лайсна, изработена от EPDM, осигурява добър външен вид в зоната на вратата. Предлага се в две версии:
Като вариант за защита от дим и като вариант за защита от огън. Освен безопасността и дизайна с функционалното лайсна се подобряват и свойствата за поддръжка на вратите.
Това се дължи на това, че както материалът, така и фактът, че тази система няма профилни ръбове, улесняват почистването и подпомагат хигиената.
УКРЕПВАЩА ПЛАНКА
Укрепващата планка позволява всички монтажни части да бъдат гъвкаво закрепени в многофункционалния жлеб само с няколко стъпки.
Последващото фино регулиране на монтажните елементи е възможно по всяко време.
ВОДАЧ ЗА ЗАКЛЮЧВАЩ БОЛТ
Уникален и прост водач държи фалцовия заключващ болт в правилна позиция и потиска шума от хлопането, причинен от заключващия болт, когато, вратата се затваря.
Водачите могат да се монтират по всяко време, дори докато вратата се използва.
Варианти за монтаж и свързване на елементите
Варианти за монтаж и свързване на елементите
ВАРИАНТИ ЗА МОНТАЖ
СМЕСЕН МОНТАЖ
Комбинация от предварително сглобени елементи с винтов монтаж (E) и (U) за лесен монтаж в ограничени пространства.
РАЗЛИЧНИ ВИДОВЕ СВЪРЗВАНЕ НА ОСТЪКЛЕНИЕТО
СВЪРЗВАНЕ НА ЕЛЕМЕНТИТЕ
U-ОБРАЗНА ВРЪЗКА
СМЕСЕН МОНТАЖ
КОМБИНАЦИЯ С ВРАТА
* Фиксирано остъкление свързано с вратата с помощта на U-образна връзка
СВЪРЗВАНЕ НА ЕЛЕМЕНТИТЕ
Ако размерите на външната рамка на фиксираното остъкление (по избор като горен или страничен фикс) е < 1000 mm, съединяването се извършва елемент по елемент.
U-ВРЪЗКА
Фиксираното остъкление (по избор катогорен или страничен фикс) може да бъде свързано с еднокрилата или двукрилата врата с U-образна връзка, само ако размерът на външната рамка на фиксираното остъкление не надвишава 1000 mm. Освен това страничната част на неподвижното остъкление може да се свързва към еднокрилата или двукрилата врата с U-образна връзка само ако вратата няма горен фикс!
ГОРНО ЗАКЛЮЧВАНЕ
При свободен проход > 2423 mm се изисква брава с допълнително горно заключване; като опция може да се осигури многоточкова брава.